冲压模具设计零件

jj6425-摩托车尾架固定座冲压模具设计-2套模具-模具设计-龙图网
图片尺寸2338x1653
冲压模具设计图纸
图片尺寸3550x5026
全3d五金模具设计图纸#冲压模具 #五金模具设计#cfpre - 抖音
图片尺寸1208x730
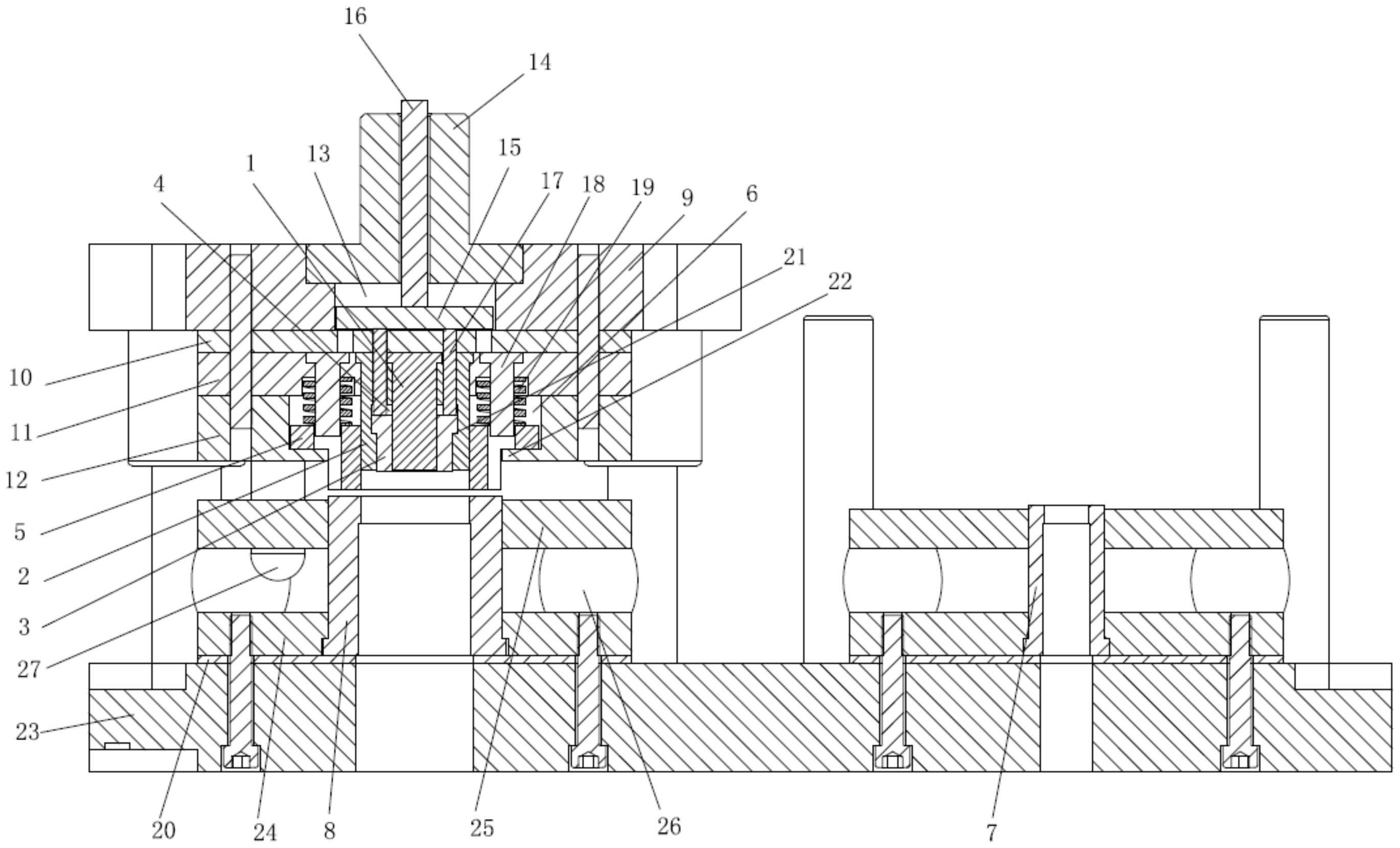
jj2529-方形垫片落料冲孔复合模具设计-谐振窗冲压模-长44-模具设计
图片尺寸1200x800
轴承座冲压模具设计:中间导柱模架,复合模,弹性卸料,凸缘模饼,滚动
图片尺寸1152x720
jj5561-汽车增压六孔垫片冲压模具设计-模具设计-龙图网
图片尺寸1140x803
双向凹模冲压模具
图片尺寸1793x2242
一种支撑桶拉深模具设计冲压模
图片尺寸830x654
冲孔凸模4零件图.pdf
图片尺寸920x1302
9张模具零件图模具装配图工件图点击分享:p240-有凸缘圆筒u形件冲压
图片尺寸902x738
圆桶件拉深冲压模具设计cad图纸
图片尺寸1200x800
后支架零件冲压模具设计
图片尺寸1200x800
叶片冲压模具设计【9张cad图纸 pdf图】
图片尺寸1200x800
弯板零件冲压复合模设计
图片尺寸841x594
锁档零件冲压模具设计
图片尺寸841x594
齿轮防护罩冲压模具设计
图片尺寸841x594
冲压模具设计装配图
图片尺寸906x563
一种往复式套打冲压模具
图片尺寸2739x1660
冲模结构设计方法,要点及实例 第2版最新章节_张正修著_掌阅小说网
图片尺寸1697x1962
jj5655-4号零件冲孔落料复合模模具设计-外径70-模具设计-龙图网
图片尺寸2338x1653