冲孔装置

泰州保险杠冲孔机
图片尺寸400x300
电脑孔冲孔装置 - 中铭印机—专业的不干胶商标印刷机|模切机|轮转机
图片尺寸432x431
供应冲孔装置飞机孔蝴蝶孔手挽孔圆孔
图片尺寸500x337
液压冲孔装置
图片尺寸600x450
方钢,圆钢,角钢,槽钢,工字钢进行剪切,冲孔,模剪,另配备剪切挡料装置
图片尺寸650x358
大庆知名液压冲孔机角铁冲孔机
图片尺寸1341x1789
管件冲孔机
图片尺寸635x615
供应薄膜冲孔装置,塑料打孔机,气胀轴,静电消除器
图片尺寸648x486
角钢冲孔装置
图片尺寸300x225
各种胶袋气动打孔机制袋机冲孔塑料袋打孔模具根据其他气动工具
图片尺寸1192x1627
爬架数控冲孔机(图)_铝模板钢支撑自动冲孔机
图片尺寸800x800
电动冲孔机,整个装置结构简单,重量轻,体积小,便于搬运,而且冲孔模具
图片尺寸750x750
液压冲孔装配
图片尺寸382x574
20y-90t中意机床液压单头冲孔机冲板材圆孔打孔设备支持非标定制
图片尺寸960x960
冲孔机压模
图片尺寸1440x1920
一种板料在线随动定距冲孔装置
图片尺寸1000x596
一种夹持效果较好的金属铸件生产用冲孔装置
图片尺寸1789x1103
dcc30液压冲孔装置
图片尺寸820x506
cn213495939u_一种板材冲孔装置有效
图片尺寸1860x1828
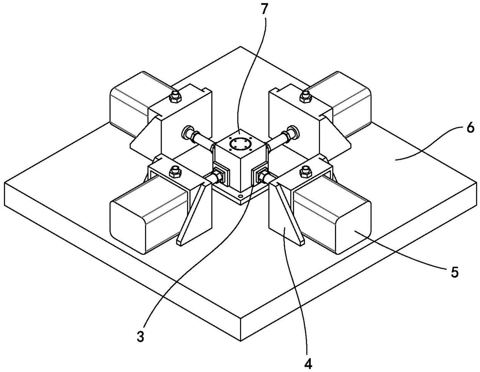
一种四等分冲孔装置-爱企查
图片尺寸1656x1285