冲床定位装置

克莱普小批量自动化生产解决方案 零点定位解决方案 第3张
图片尺寸601x516
零点定位系统 零点定位 液压带定向零点定位器 加工中心快速夹具
图片尺寸1920x1440
双气缸冲床厂家定制|牛奶盒冲孔冲床|4孔定位一次冲孔冲床
图片尺寸1275x1920
采用对称平衡器装置设……双曲轴精密钢架冲床apc-250精度高变形小
图片尺寸800x800
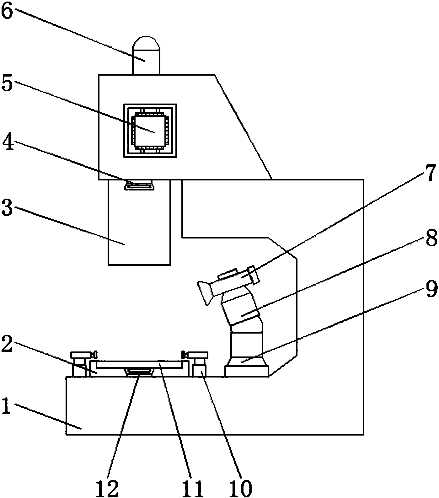
山东固定台式冲床定做
图片尺寸800x1067
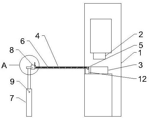
一种冲压机床定位装置
图片尺寸475x388
液压冲床的定位精度检测是十分重要
图片尺寸466x340
铣床定位器cnc定位器t槽m10m12m14m16万向工件定位器碧貂红色t型槽m10
图片尺寸800x800
在车间机床运用零点定位技术的优势
图片尺寸957x487
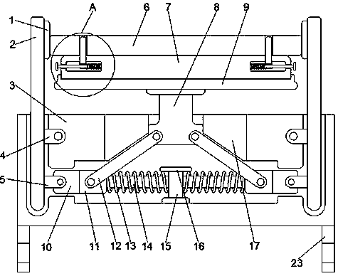
数控转塔冲床二次定位装置
图片尺寸1591x1936
一种冲床用工件定位装置的制作方法
图片尺寸697x1000
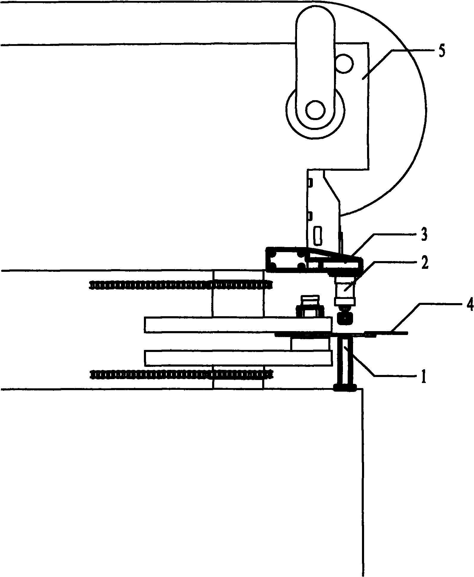
冲孔机第一个孔冲中间后第二个孔怎么定位
图片尺寸1136x852
一种冲床用的定位装置-爱企查
图片尺寸505x400
一种高速冲床用定位装置
图片尺寸1399x1587
精密冲床的定位精度的检测十分重要,因为它是表明所检测的冲床各运动
图片尺寸800x1203
定做16吨普通加重脚踏电动异型冲床可安装光栅装置价优厂家供应
图片尺寸1440x1919
采购了很多的协易和金丰品牌的冲床,我们作为冲压安全防护装置供应商
图片尺寸640x970
一种冲床离合器用定位装置-爱企查
图片尺寸568x800
工件铣床定位器cnc加工中心万向多功能机床可调定位其他机械五金新
图片尺寸800x800![精密冲床-金丰冲床-台湾冲床-气压冲床-精密冲床厂家-[岗田机械]专业](https://i.ecywang.com/upload/1/img0.baidu.com/it/u=281950913,3638175473&fm=253&fmt=auto&app=120&f=JPEG?w=500&h=500)
精密冲床-金丰冲床-台湾冲床-气压冲床-精密冲床厂家-[岗田机械]专业
图片尺寸800x800