冲床接料器机构

冲床接料器
图片尺寸820x440
冲床
图片尺寸428x326
冲床联动接料机
图片尺寸353x220
冲床
图片尺寸1764x2294
圆管冲床自动送料成型设备-加工设备-自动化设备|凸轮机构|免费图纸
图片尺寸1459x837
钢板焊接200吨气动冲床配件发生爆裂原因
图片尺寸700x555
冲床接料器
图片尺寸820x440
冲床接料器外跨式气动冲床专用接料器提高效率冲床接料器厂家直销
图片尺寸700x700
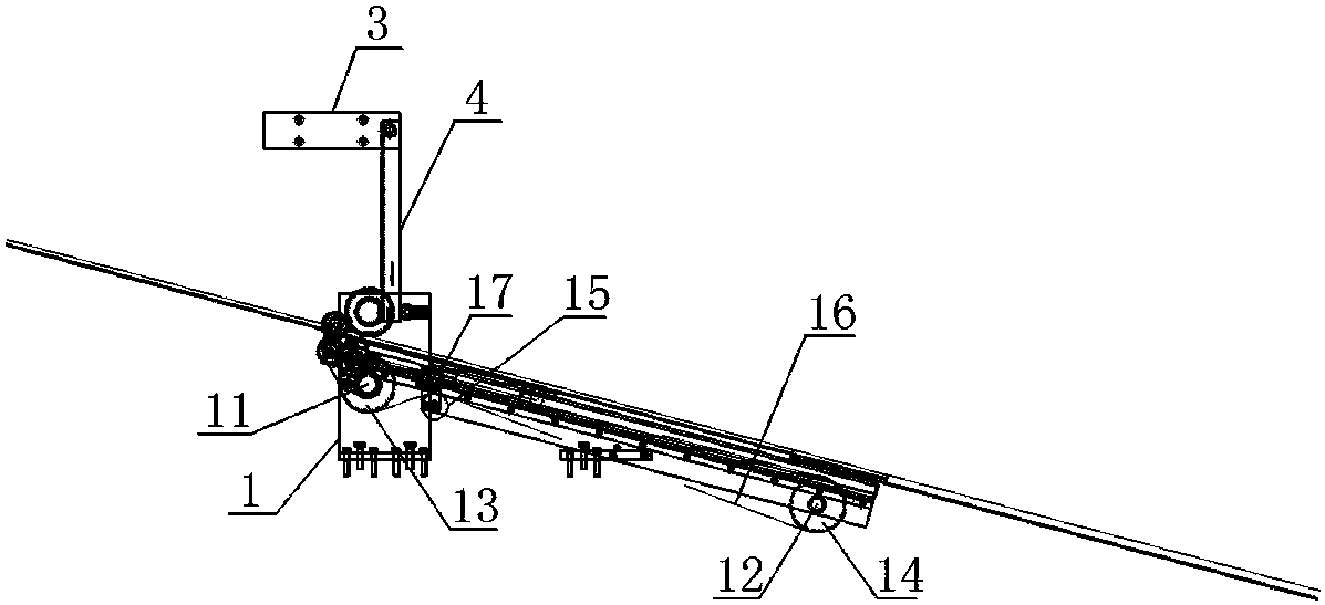
一种冲床接料机构
图片尺寸1197x547
冲床基础知识ppt
图片尺寸1080x810
拉深开料模带冲床接料器前置式
图片尺寸820x443
重力落料 卡料机构
图片尺寸820x480
开式可倾冲床 主要用于冲压生产 促销中
图片尺寸1654x1284
冲床上下料机构模型
图片尺寸605x500
了一种冲压废料的接料收集装置,其能够设置于冲床的废料下料端的下方
图片尺寸1943x1062
冲床接料器装置
图片尺寸300x225
曲柄冲床的结构及工作原理
图片尺寸893x607
精密台式电动冲床双柱压力机脚踏手动两用微型冲床吨jb04-1吨
图片尺寸790x761
一种冲床接料机构制造技术
图片尺寸1000x463
淄博冲床厂家直销西泽jb-23 25吨冲床国标斜齿标准开式25t冲床
图片尺寸750x750