冲床曲轴结构图

开式双曲轴精密钢架冲床
图片尺寸832x465
1曲轴零件图pdf
图片尺寸800x568
cbn陶瓷砂轮,磨曲轴砂轮,郑州宏拓
图片尺寸750x300
这是曲轴的图片,发动机就是依靠曲轴对外输出功.
图片尺寸359x304
3,特有的铜套与曲轴装嵌技术,避免了冲床在使用了一段时间后飞轮,冲头
图片尺寸1920x1706
摩托车曲轴 - 热门商品专区
图片尺寸917x445
一种冲床用进油曲轴的制作方法
图片尺寸1000x602
一种闭式双曲轴精密冲床
图片尺寸752x1000
一种偏心曲轴冲床制造技术
图片尺寸1436x1612
一种冲床曲轴进油结构的制作方法
图片尺寸558x1000
cn207701584u_发动机曲轴有效
图片尺寸2100x1689
单拐曲轴加工工艺分析
图片尺寸893x438
cn201347939y_发动机曲轴有效
图片尺寸800x271
一种冲床曲轴结构
图片尺寸360x359
曲轴零件图
图片尺寸820x566
摩托车发动机曲轴机械加工技术
图片尺寸587x492
一种开式单曲轴高精钢架冲床制造技术
图片尺寸763x1000
一种发动机曲轴结构
图片尺寸1889x1158
一种龙门型精密高速冲床曲轴进油机构
图片尺寸390x623
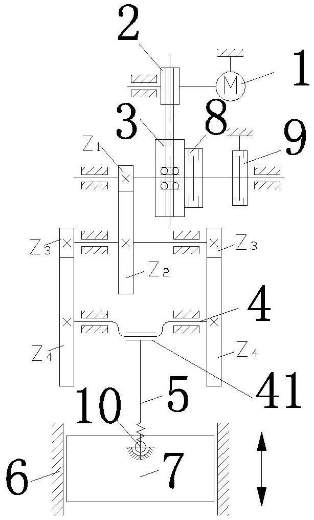
专利详情摘要 本实用新型是二级齿轮传动的偏心曲轴单点冲床,其结构是
图片尺寸614x1016