冲床离合器拆解图

冲床气动离合器内部构造组成和拆解图解
图片尺寸517x364
2离合器拆装实验
图片尺寸1149x555
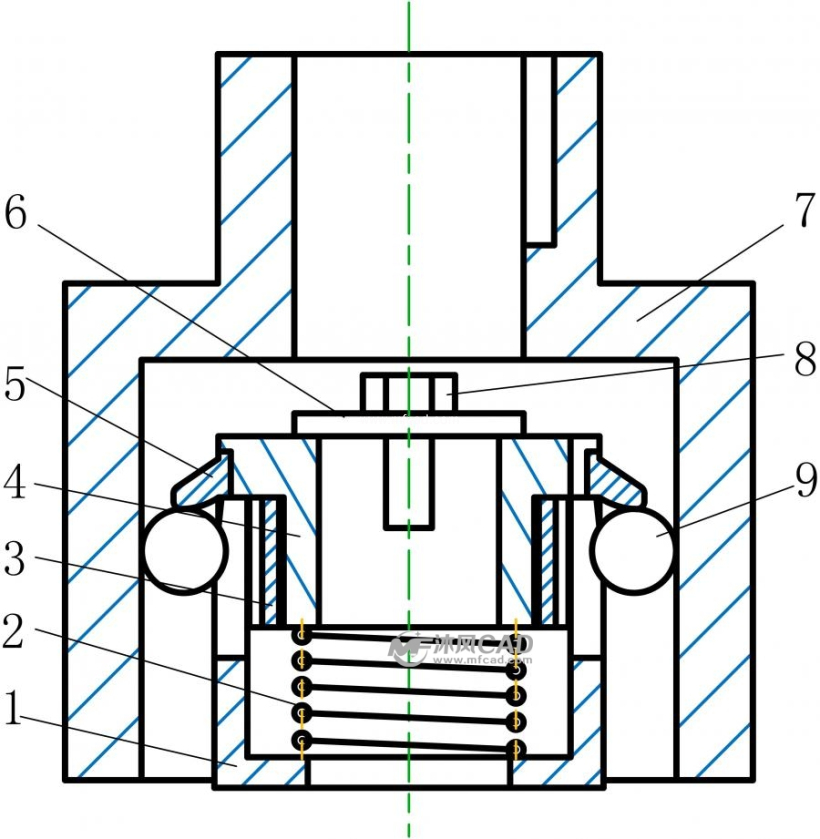
滚珠摩擦式离合器
图片尺寸820x839
(图解)离合器检修
图片尺寸1250x1488
离合器的原理图各部位名称
图片尺寸834x1051
湿式多片离合器更换全攻略(3)
图片尺寸1488x756
离合器装配图及零件图
图片尺寸749x513
十四3螺旋弹簧离合器
图片尺寸450x480
离合器的结构与工作原理(图解)
图片尺寸721x346
摩擦离合器概述ppt
图片尺寸1080x810
离合器认识与拆装
图片尺寸729x736
2 离合器及踏板总成的拆装与检修
图片尺寸714x458
求双向多片式摩擦离合器cad或ug或solidworks图
图片尺寸1280x768
摩擦片离合器汽车专业毕业设计
图片尺寸495x441
离合器结构与拆装ppt
图片尺寸1080x810
cn201062639y_一种机床的离合器装置失效
图片尺寸2544x1745
请问老式63吨冲床离合器弹簧断了,尾键连接轴也断了,怎么换.
图片尺寸600x800
cn201272045y_冲床的离合刹车器组件失效
图片尺寸2443x2063
70页ppt讲透彻离合器的工作原理建议收藏
图片尺寸960x720
离合器的故事
图片尺寸500x539