冲裁模间隙

c=(t-b)tgβ = t(1-b/t)tgβ 冲裁模间隙的理论确定法
图片尺寸1080x810
冲裁间隙的概念 冲裁间隙z: 指冲裁模中凹模刃口横向尺寸da与凸模
图片尺寸1080x810
冲裁间隙
图片尺寸1422x830
3.2冲裁模间隙ppt
图片尺寸1080x810
关于冲压模具冲裁过程间隙问题的探讨
图片尺寸601x410
冲裁间隙为什么这么重要?看完你就知道了
图片尺寸640x489
图3-25 日字形硅钢片倒装式复合冲裁模
图片尺寸1698x1888
《冲压工艺与模具设计》课件(第二节 冲裁模间隙)ppt
图片尺寸1080x810
第二章 冲裁工艺与冲裁模设计 第一节 冲裁变形过程及断面分析
图片尺寸1080x810
冲裁间隙
图片尺寸601x378
冲裁间隙为什么这么重要?看完你就知道了
图片尺寸640x320
凸凹模间隙 影响冲裁件的断面质量,模具寿命,卸料力, 推件力,冲裁力和
图片尺寸1080x810
知识点一般五金模具设计都会涉及到这个冲裁间隙的取值标准
图片尺寸740x567
z=da—dtz 冲裁间隙da -凹模刃口尺寸dt——凸模刃口尺寸z正常-上下
图片尺寸516x353
冲裁过程,冲裁间隙图
图片尺寸640x280
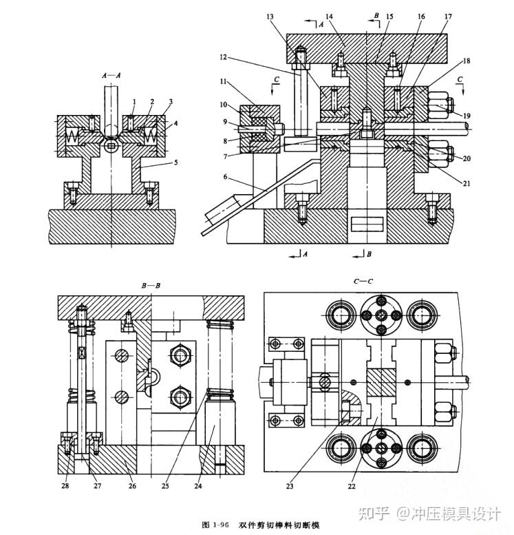
模具设计型材冲裁模
图片尺寸747x777
冲孔落料复合冲裁模
图片尺寸846x613
mfc推荐冲裁间隙对产品尺寸精度及模具使用寿命的影响
图片尺寸629x523
模具设计——精密冲裁模 - 知乎
图片尺寸974x1242
图3-22 e字形硅钢片倒装式复合冲裁模
图片尺寸1656x1797