冷凝装置

pfa蒸馏冷凝装置
图片尺寸1152x720
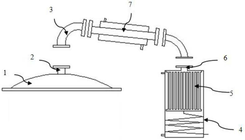
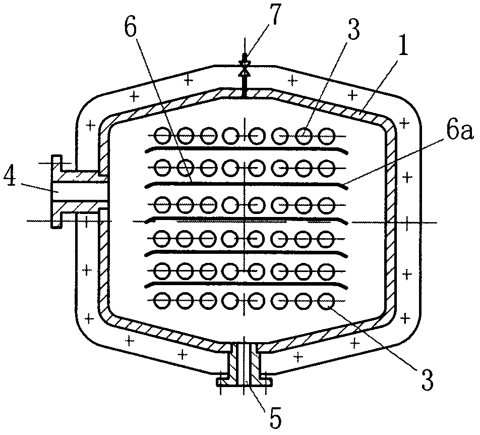
本发明涉及冷凝装置技术领域,特别涉及一种用于实验室的冷凝器.
图片尺寸1000x904
专题一化学实验中蒸馏装置和冷凝装置的变迁
图片尺寸344x495
本实用新型涉及冷凝装置技术领域,特别涉及一种用于实验室的冷凝器.
图片尺寸1000x904
凯迪水冷凝器特点:严格按照《制冷装置用压力容器》生产和验收, - 抖
图片尺寸1224x816
进口climbing减压蒸馏装置cl0007-02-30 共通配研李比希氏冷凝器
图片尺寸750x750
咸阳冷凝回收装置咸阳二手列管冷凝器
图片尺寸1920x1183
实验室专业全套蒸馏装置减压萃取蛇形冷凝管装置提纯提炼精油器材
图片尺寸800x800
回流冷凝装置
图片尺寸220x300
冷凝装置
图片尺寸530x413
什么是闭式冷凝水回收装置
图片尺寸1280x960
cod消解仪 报价标准cod消解装置冷凝回流装置实验室
图片尺寸2976x3968
冷凝装置全套图
图片尺寸429x356
一种用于精油提取的蒸馏冷凝装置
图片尺寸526x432
冷凝水回收装置安装与使用
图片尺寸1080x1440
卧式冷凝装置
图片尺寸952x862
医药废气冷凝回收油气温液化回收低温装置
图片尺寸600x600
一种用于精油提取的蒸馏冷凝装置
图片尺寸788x452
ayanf200分子蒸馏仪可配外置冷凝装置无沸腾鼓包现象
图片尺寸700x463
gcf带冷凝装置
图片尺寸1000x750