冷却器简图

一种新型的egr冷却器-爱企查
图片尺寸1808x1129
一种用于液压油冷却器的制作方法
图片尺寸1000x965
一种单流程管壳式冷却器
图片尺寸2006x2351
一种具有加强结构的冷却器的制作方法
图片尺寸1000x878
三:gll型立式冷却器尺寸示意图
图片尺寸728x529
汽化冷凝冷却器
图片尺寸366x369
电池冷却器及车辆的制作方法
图片尺寸418x443
竖式冷却器结构示意图
图片尺寸600x898
一种具有稳定结构的船用冷却器的制作方法
图片尺寸444x327
lc型冷却器 上海茸工液压设备制造有限公司
图片尺寸800x262
密封板式冷却器的制作方法
图片尺寸864x1000
一种冷却器的制作方法
图片尺寸645x1000
一种取样冷却器
图片尺寸1322x2007
冷却器的制作方法
图片尺寸969x953
液压冷却器设备
图片尺寸1154x955
一种烧瓶用冷却器
图片尺寸1721x1636
gll 型立式冷却器
图片尺寸507x321
一种高效风冷冷凝器-爱企查
图片尺寸1359x1031
空气冷却器的制作方法
图片尺寸1000x860
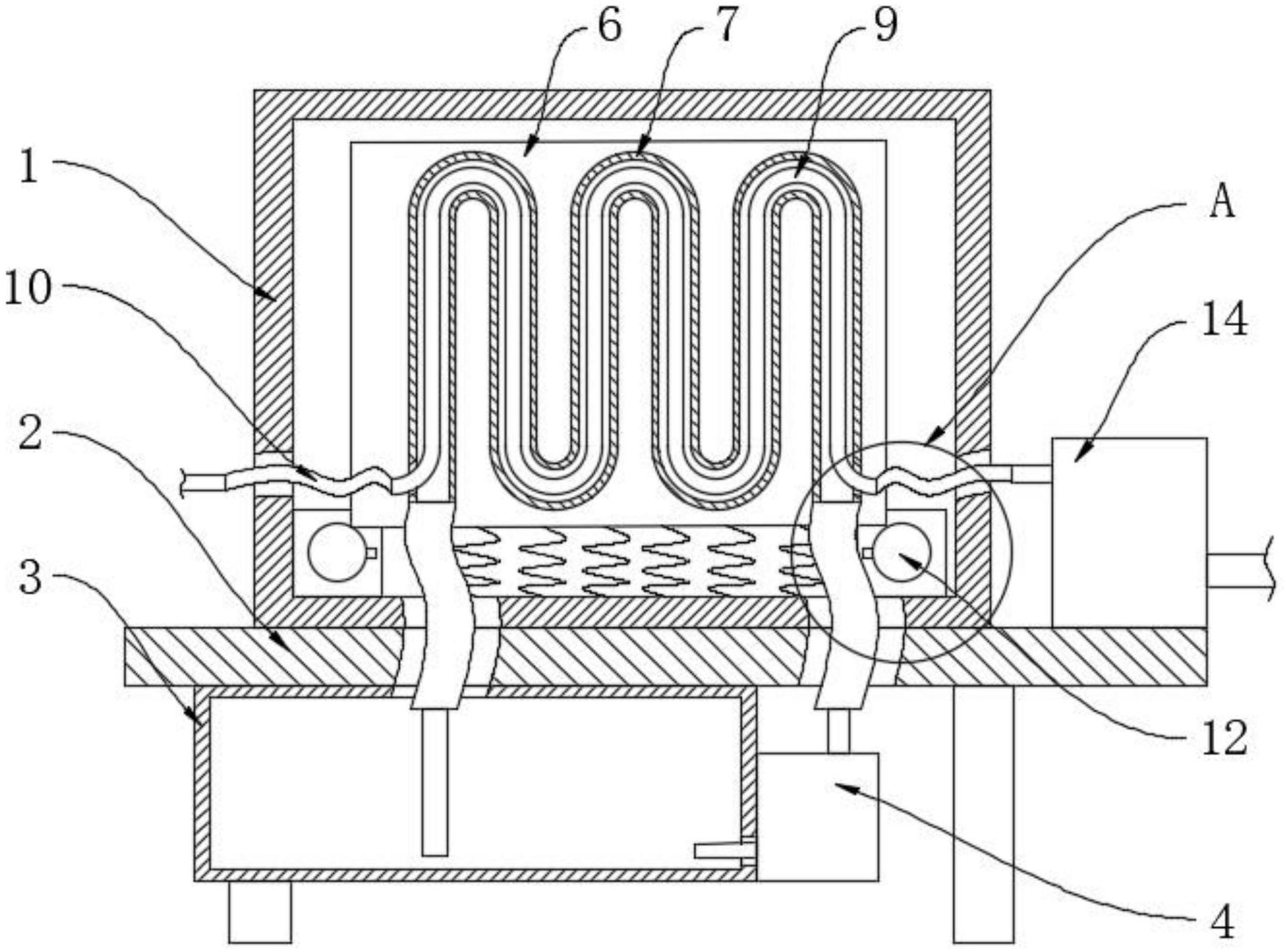
cn213230697u_粉体物料流态化冷却器有效
图片尺寸1915x1420