冷却辊图纸

一种纳米晶制带机用的喷淋式冷却辊
图片尺寸1756x1112
一种冷却辊-爱企查
图片尺寸2023x1147
一种冷却均匀的冷却辊的制作方法
图片尺寸1000x469
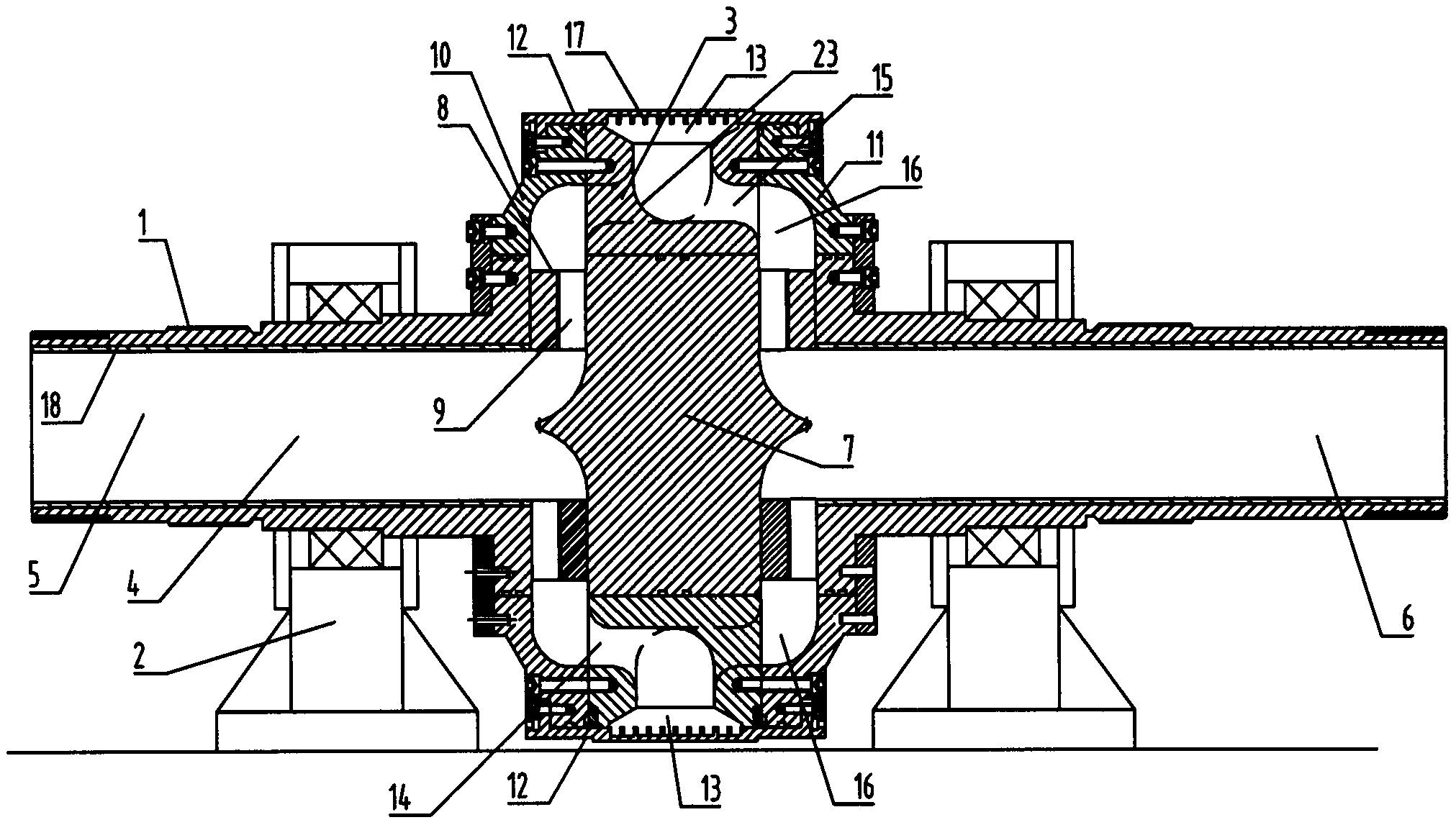
一种包装纸复合机背涂冷却辊组结构的制作方法与工艺
图片尺寸1000x776
cn1745026a_真空冷却辊失效
图片尺寸1417x828
压延机冷却辊总图下载(377.58k,rar格式) 机械cad图纸
图片尺寸650x500
一种冷却辊的制作方法
图片尺寸938x1000
一种水冷辊
图片尺寸1142x353
一种冷却均匀的冷却辊的制作方法
图片尺寸1000x313
炉下水冷辊图纸
图片尺寸437x329
多功能冷轧辊
图片尺寸1708x906
dwg是"压延机冷却辊总图"图纸资料的一部分,"压延机冷却辊总图"包含
图片尺寸820x579
复合机快速冷却辊及复合机的制作方法
图片尺寸1000x446
cn103057018b_一种不结露冷却辊装置有效
图片尺寸1000x288
一种用于印刷机的快速冷却辊的制作方法
图片尺寸1000x357
印刷机滚辊冷却结构
图片尺寸1943x1200
cn102310083a_铸轧机偏导辊冷却水循环装置失效
图片尺寸1800x640
一种不粘膜的液体冷却辊的制作方法
图片尺寸551x268
一种无存水喷淋冷却辊的制作方法
图片尺寸1000x557
tybz-sg炉下水冷辊装配件下载(341.57k,rar格式) 机械cad图纸
图片尺寸468x325