冷拔工艺

关于冷拔丝生产工艺你了解多少?
图片尺寸800x600
冷拔工艺流程图
图片尺寸600x269![[分享]钢筋冷拔过程动画演示](https://i.ecywang.com/upload/1/img2.baidu.com/it/u=2782979738,1677483662&fm=253&fmt=auto&app=138&f=PNG?w=500&h=264)
[分享]钢筋冷拔过程动画演示
图片尺寸693x366
冷拔丝冷拔工艺您了解吗
图片尺寸1080x746
冷拔钢管是一种通过冷拔工艺制成的钢管.
图片尺寸1620x1080
不锈钢拉拔工艺你了解多少
图片尺寸750x527
金属材料百科
图片尺寸600x344
梅花管冷压冷拔工艺
图片尺寸1300x975
铝管冷拉拔基础
图片尺寸403x807
拉拔线材基本知识培训课件_第3页
图片尺寸1500x1125
deep ice sheet coring (disc) drill
图片尺寸4288x2848
无缝钢管生产工艺冷拔无缝钢管生产工艺流程图
图片尺寸1069x802
薄壁不锈钢管冷拔工艺.png
图片尺寸403x294![[分享]钢筋冷拔施工动画演示](https://i.ecywang.com/upload/1/img1.baidu.com/it/u=1643591862,2682276216&fm=253&fmt=auto&app=138&f=PNG?w=934&h=500)
[分享]钢筋冷拔施工动画演示
图片尺寸1109x594
2013第2部分-铸造ppt
图片尺寸1080x810
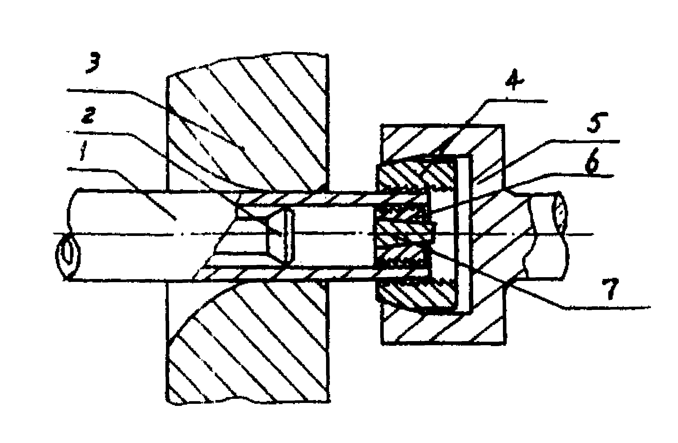
钢管冷拔加工装置
图片尺寸2304x1504
冷拔管变形原理
图片尺寸390x224
第一个是冷拔无缝管的流程
图片尺寸600x333
gas welding equipment
图片尺寸800x800
赞同了该文章 本系列文章将简要介绍国内外的一些有特色的技术和工艺
图片尺寸720x344