冷沉淀制备仪

冷沉淀制备仪-爱企查
图片尺寸301x341
全自动冷沉淀制备仪厂家
图片尺寸500x500
献血科普|冷沉淀凝血因子是怎样制备的?
图片尺寸1080x607
安康市中心血站站引进冷沉淀凝血因子制备仪并投入使用
图片尺寸560x420
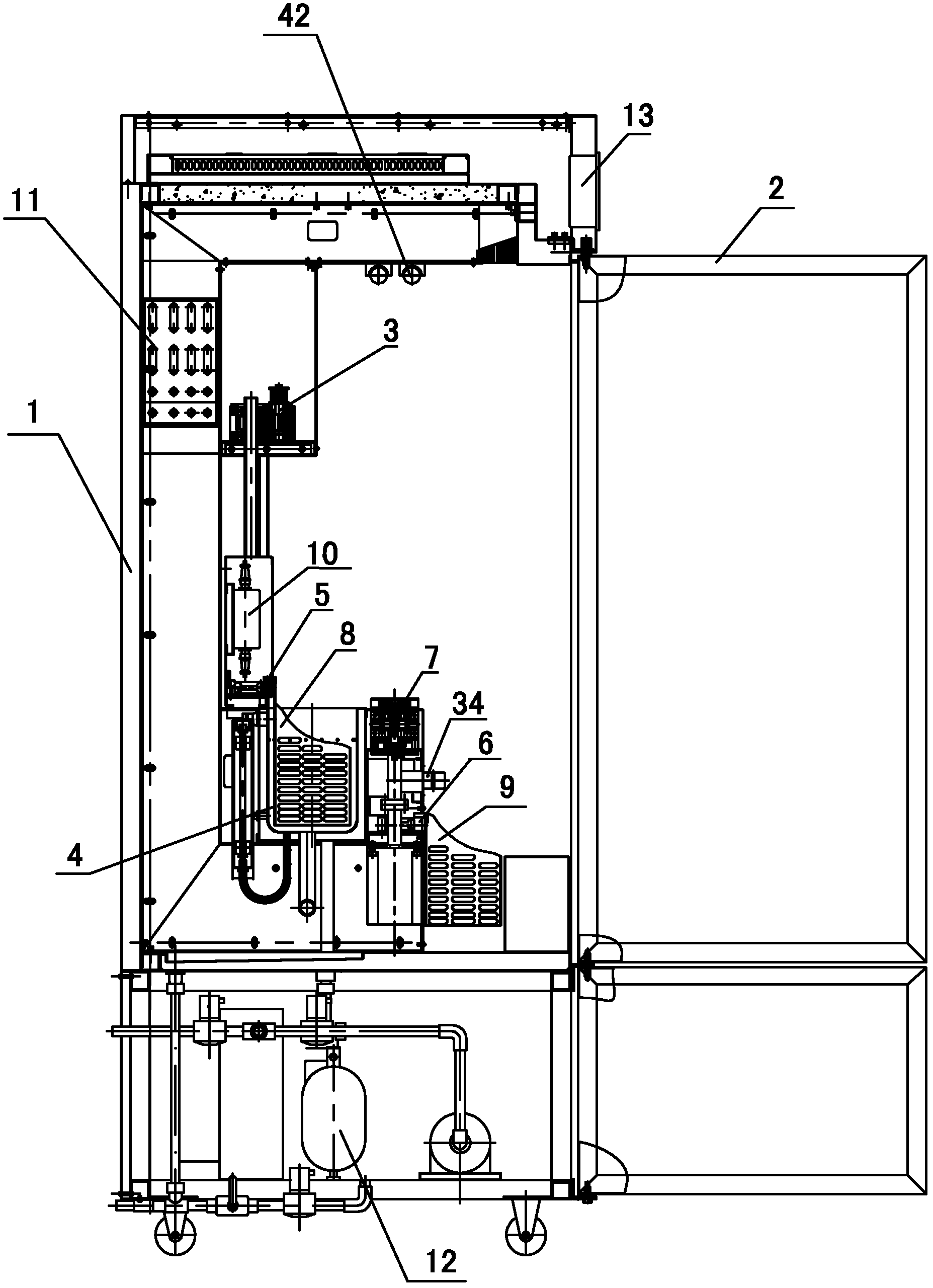
冷沉淀制备仪
图片尺寸1570x1596
冷沉淀制备仪
图片尺寸1571x1607
冷沉淀凝血因子制备仪制备冷沉淀凝血因子
图片尺寸545x395
冷沉淀凝血因子制备仪
图片尺寸1855x2560
检查设备处于正常状态,开启血浆解冻箱或全自动冷沉淀制备仪(可提前
图片尺寸1080x810
冷沉淀凝血因子制备仪
图片尺寸881x1007
冷沉淀制备仪
图片尺寸958x1663
智加高端医疗设计 | 冷沉淀凝血因子制备仪
图片尺寸1080x607
冷沉淀制备仪
图片尺寸1639x1666
通州血站引进全自动冷沉淀制备仪
图片尺寸900x600
冷沉淀凝血因子制备仪及其使用方法
图片尺寸1611x1303
冷沉淀凝血因子制备仪
图片尺寸1000x704
冷沉淀凝血因子制备仪
图片尺寸1855x2560
据悉,目前市中心在用的两台"冷沉淀凝血因子制备仪"于今年6月引进站内
图片尺寸600x450
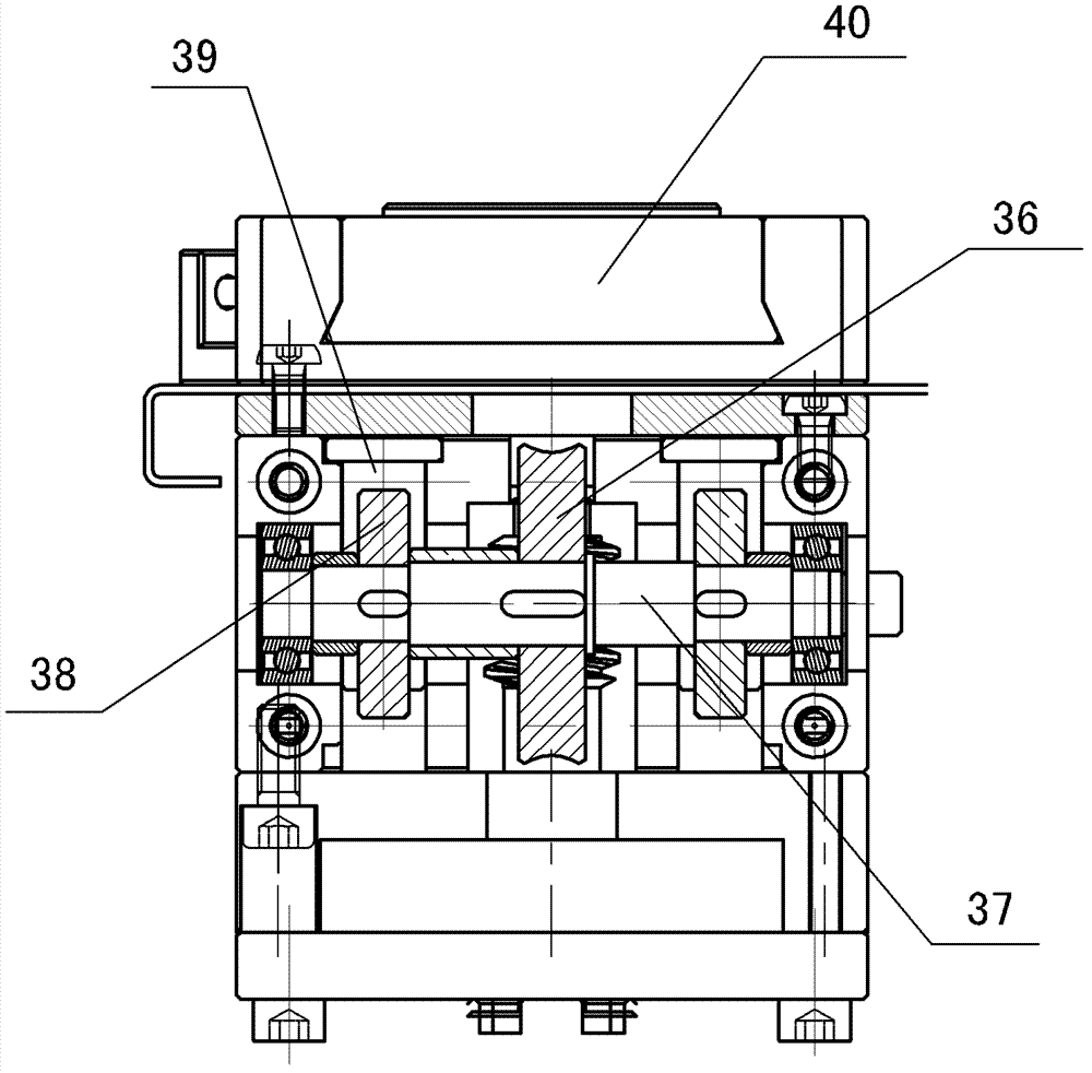
冷沉淀凝血因子制备仪
图片尺寸1000x982
冷沉淀制备仪
图片尺寸1636x964