冷渣机图纸

某企业双水路环保滚筒冷渣机总图下载_工业/农业机械_机械图纸 - 机械
图片尺寸820x574
滚筒冷渣机
图片尺寸2014x1098
卧式滚筒式冷渣机总装图
图片尺寸768x480
青岛滚筒式冷渣机厂家价格
图片尺寸2880x1990
cn201916914u_双层筒排式冷渣机有效
图片尺寸2445x1095
供循环流化床机组滚筒冷渣器用户参考
图片尺寸1924x1037
冷渣机图纸
图片尺寸639x453
gtl15e滚筒冷渣机 - 换热/制冷空调设备图纸 - 沐风网
图片尺寸634x555
一种冷渣机
图片尺寸1900x1237
一种滚筒式冷渣机的制作方法
图片尺寸1000x613
srm-Ⅲ型冷渣机总图 - 其他autocad机械图纸 - 沐风图纸
图片尺寸812x531
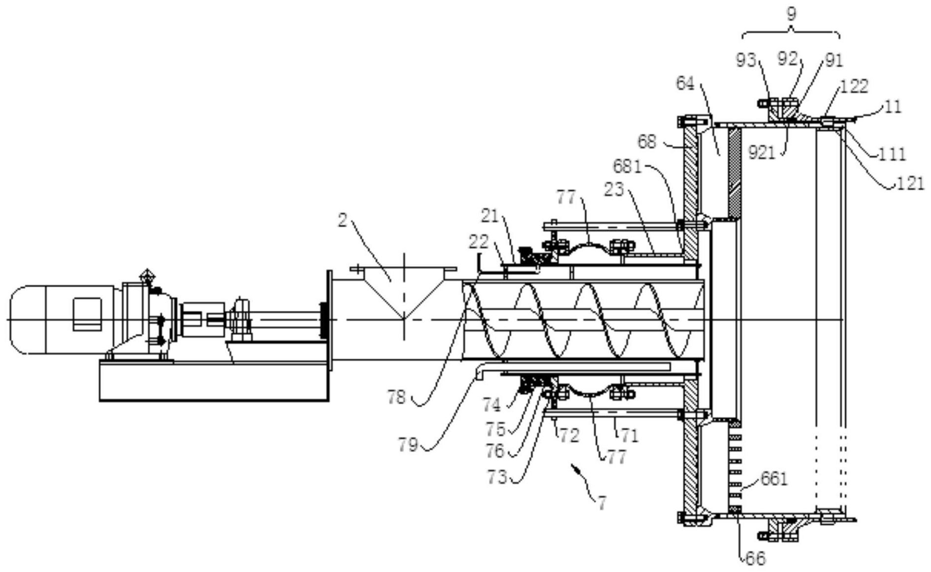
一种滚筒冷渣机的制作方法
图片尺寸1000x849
srm-iv-25-10(25吨)冷渣机总图 - 其他autocad机械图纸 - 沐风图纸
图片尺寸774x549
滚筒冷渣机运行中需要注意的事项都有哪些?
图片尺寸1455x689
滚筒冷渣机图纸
图片尺寸584x592
cn2575453y_筒形摇摆式冷渣机失效
图片尺寸709x541
一种膜式滚筒冷渣机的制作方法
图片尺寸595x284
一种卧式冷渣机
图片尺寸1891x1163
滚筒冷渣机的制作方法
图片尺寸1000x550
滚筒式回收冷渣机的制作方法
图片尺寸1000x397