冷镦工艺原理

冷镦,冷镦百科
图片尺寸379x300
供应 标准件模具,冷镦模具
图片尺寸600x800
冷镦基础知识
图片尺寸940x708
钛合金紧固件冷镦成型工艺
图片尺寸964x763
冷镦工艺开发流程,附实用工作计算公式
图片尺寸640x439
冷镦成型工艺设计
图片尺寸728x587
一种高强度安装顶料架的冷镦机-爱企查
图片尺寸800x584
双耳托板自锁螺母冷镦工艺及模具设计
图片尺寸1178x1638
法兰面螺母冷镦工艺
图片尺寸1187x1633
无夹钳二模三冲零件冷镦成型机
图片尺寸820x515
冷镦机脱模钳装置工作原理与分类
图片尺寸600x600
一种高速一模两冲冷镦机的制作方法与工艺
图片尺寸588x290
值得收藏螺丝冷镦挤成型工艺详解
图片尺寸896x375
六角螺母冷镦成形工艺参数的确定及应用
图片尺寸1430x1965
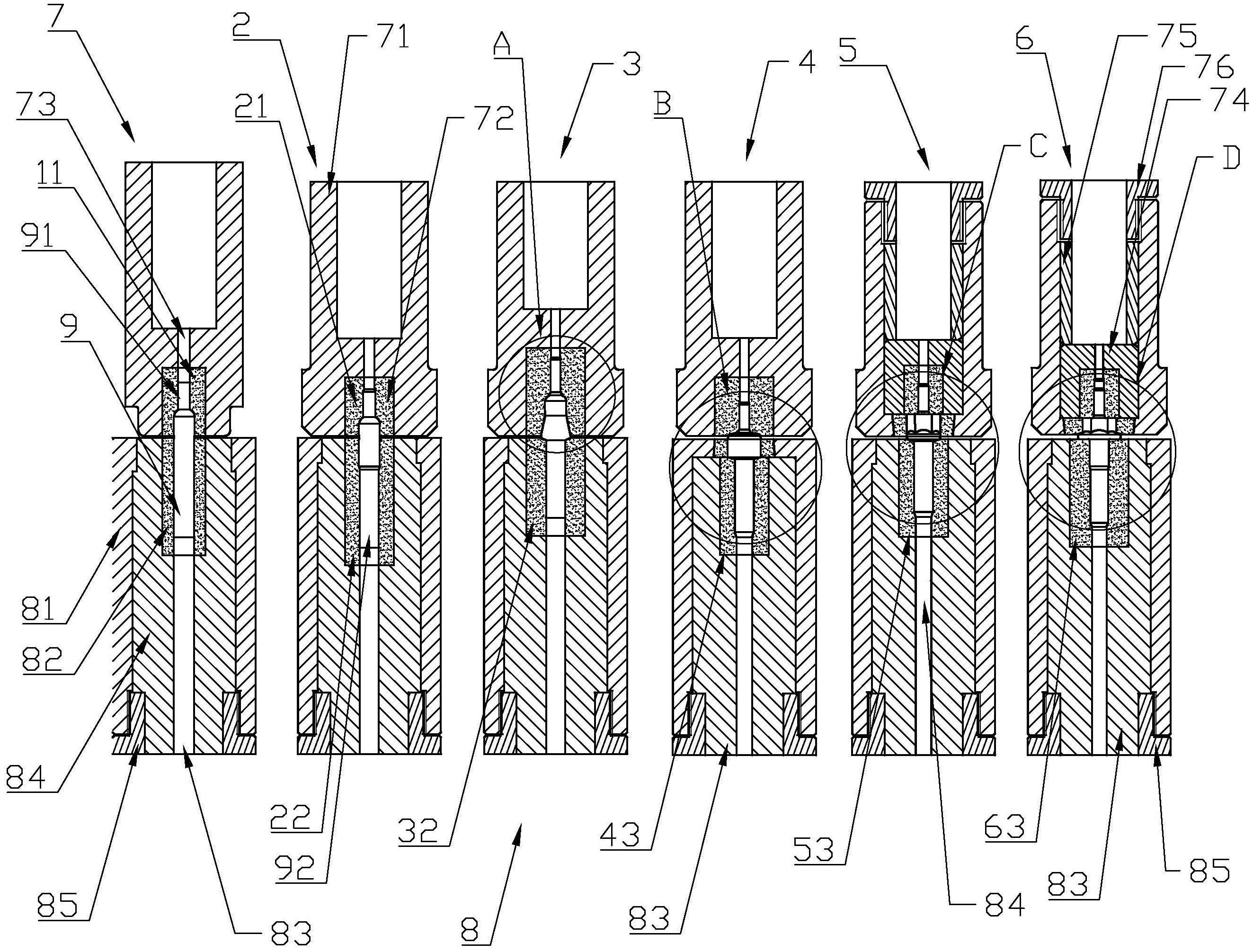
一种双头螺栓冷镦一体成型装置
图片尺寸2647x2011
加装脱膜钳的二模三冲螺丝机械 石西牌冷镦机找13412418199曾先生
图片尺寸598x476
带全空零件装置的二模三冲冷镦机制造拉钉头的工艺
图片尺寸600x381
cn105689616b_八工位冷镦机的总装配机构有效
图片尺寸942x1000
采用多工位冷镦机和新工艺生产开花鞋钉
图片尺寸320x189
机械设计学 卧式多工位冷墩机循环图ppt
图片尺寸1260x810