冷镦模具知识

冷镦作业流程看板pdf1页
图片尺寸792x560
经久耐用钨钢冷镦模yg20各种合金牌号硬质合金模具 钨钢模具-阿里巴巴
图片尺寸1920x1920
涡轮增压器旁通阀开关用螺丝冷镦模具
图片尺寸1838x1489
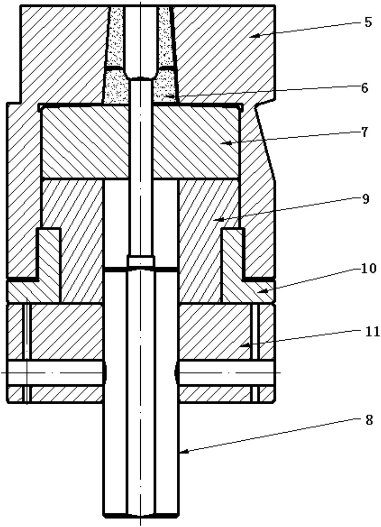
包括:设置在冷镦机上的第一冷镦模具,将制造油管接头的线材坯料冷镦为
图片尺寸1983x1136
3-冷冲压模具的装配(1)
图片尺寸1177x1502
冷镦成型工艺设计
图片尺寸728x587
冷冲模模具图.doc
图片尺寸993x1404
双工位冷镦工艺及模具改进
图片尺寸1240x1753
发动机活塞杆冷镦成型模具制造技术
图片尺寸1000x709
冷镦冷挤压工模具
图片尺寸1920x1440
您现在的位置:首页 > 关于我们 专业紧固件冷镦模具供应商【合毅鑫
图片尺寸615x835
无夹钳二模三冲零件冷镦成型机
图片尺寸820x515
一种套筒的冷镦模具-爱企查
图片尺寸1322x1826
钛合金紧固件冷镦成型工艺
图片尺寸964x763
冷镦模_冷镦模具 非标螺丝螺杆模具 螺丝模具 螺杆模具 钨钢合金 标准
图片尺寸800x1075
多工位冷锻模具
图片尺寸5184x3456
法兰面螺母的冷镦工艺-紧固件课件,紧固件知识,紧固件资料-华人螺丝网
图片尺寸1187x1633
冷镦模_冷镦模具 非标螺丝螺杆模具 螺丝模具 螺杆模具 钨钢合金 标准
图片尺寸800x839
冷冲模模具图
图片尺寸920x1303
紧固件冷镦成型工艺这次讲全了
图片尺寸687x279