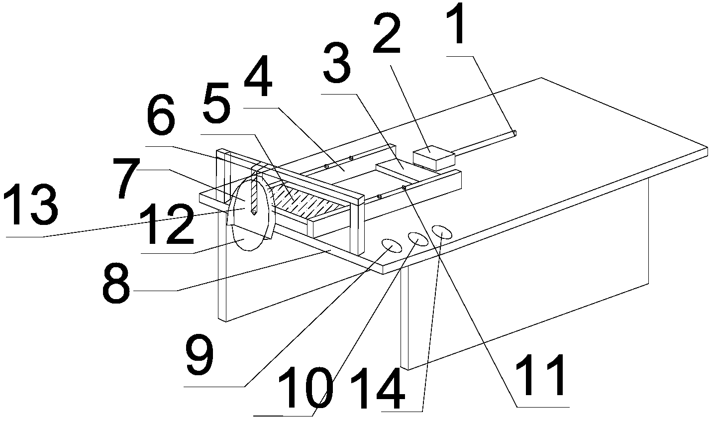
凉席竹片铣槽机的设计

凉席竹片铣槽机课程设计
图片尺寸920x1302
精密竹凉席竹片快切装置的制作方法
图片尺寸550x383
一种新型竹笋切片机
图片尺寸1429x846
cn202335319u_一种新型刀削面机失效
图片尺寸1848x1508
一种可快速剪切竹片的竹凉席用加工装置的制作方法
图片尺寸1000x554
一种中药材切片机
图片尺寸1556x1285
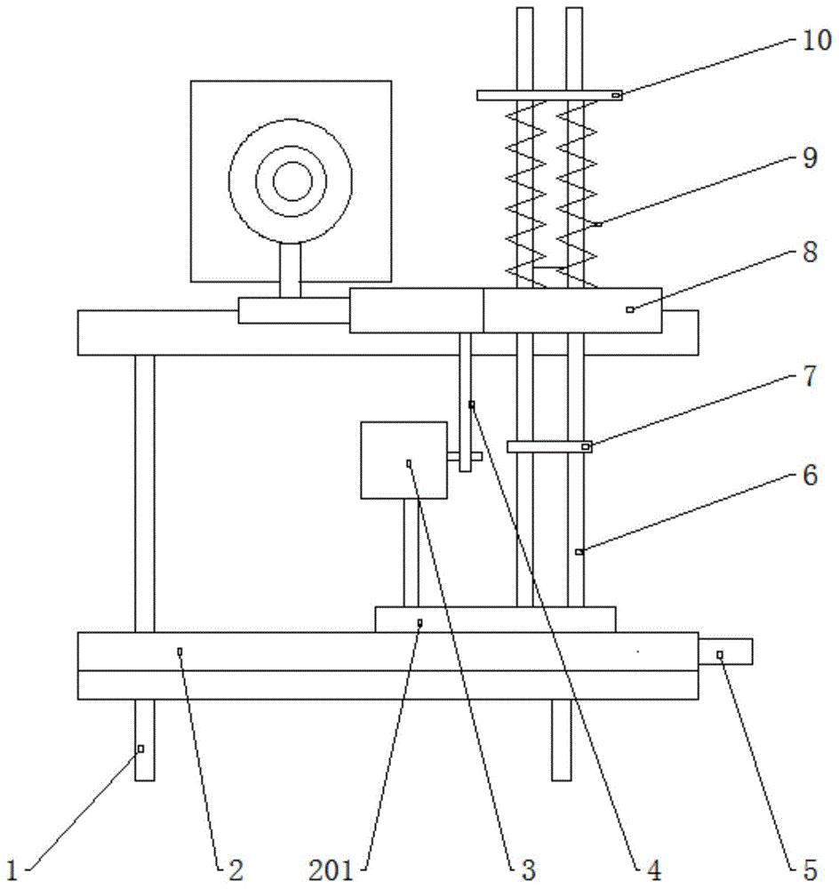
一种防晃装置及双轮铣槽机
图片尺寸1841x2359
一种卷材切片机的制作方法
图片尺寸1000x965
泰州三腔加药装置,全自动不锈钢加药装置|价格,厂家,图片_商虎
图片尺寸1357x1162
厂家直销 凉席自动钻孔机,竹粒钻孔机,凉席钻孔机,竹凉席机械
图片尺寸565x800
cn101984156a_自动缫丝机新型节能烘丝系统有效
图片尺寸1569x1403
一种竹升面压面机的制造方法与工艺
图片尺寸1000x884
一种短丝无限编织机制造技术
图片尺寸886x1000
夏季汽车坐垫单垫麻将块凉席座垫竹片汽车座垫车垫沙发垫小四方垫
图片尺寸700x700
一种木材切削用削片机的制作方法
图片尺寸1000x542
一种切割面整齐的原竹锯断机的制作方法
图片尺寸985x1000
一种自动搓丝机的制作方法
图片尺寸804x1000
一种用于大米制作米粉工艺的自动化加工设备的制作方法
图片尺寸970x1000
一种竹升面压面机
图片尺寸944x1000
一种竹升面压面机制造技术
图片尺寸949x1000