减振扣件

上部自锁式第三代双层非线性减振扣件
图片尺寸800x1307
上部自锁式第三代双层非线性减振扣件
图片尺寸800x369
老河口双层非线性减振扣件起重轨扣压件厂家
图片尺寸350x350
轨道减振器扣件
图片尺寸310x310
gj-4型谐振式浮轨减振扣件
图片尺寸3471x3403
减振扣件
图片尺寸800x800
石首双层非线性减振扣件起重轨扣压件工厂
图片尺寸800x800
河北孟村晨光国标建筑扣件铸造厂
图片尺寸600x450
墙体减振器ktv歌舞厅吊钩减振扣件 电影院录音室墙体吊顶减振器
图片尺寸710x530
老河口双层非线性减振扣件起重轨扣压件厂家
图片尺寸800x800
石首双层非线性减振扣件起重轨扣压件工厂
图片尺寸800x800
苏州3号线(双层非线性减振扣件)
图片尺寸800x450
wj-7双层非线性减振扣件的特点:1,采用非黏结可分离式结构,具有更好的
图片尺寸615x473
广西龙门吊扣件,双层非线性减振扣件供应商
图片尺寸800x800
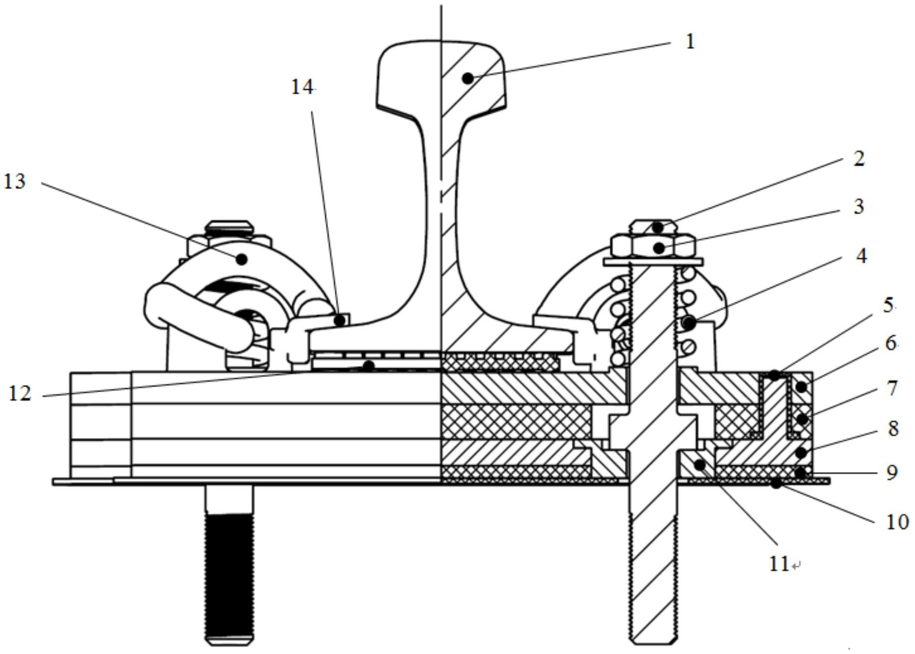
dzⅢ型双层非线性减振扣件组装图及设计参数
图片尺寸650x381
石首双层非线性减振扣件起重轨扣压件工厂
图片尺寸800x800
安标zx2地铁弹性扣件城轨交通弹性扣件
图片尺寸750x750
扣件的减振降噪有哪些作用
图片尺寸632x420
带双横向限位低垂向刚度的减振扣件-爱企查
图片尺寸1867x1334
dzⅢ型双层非线性减振扣件组装图及设计参数
图片尺寸650x499