凹印版辊的解剖图

一种便于检修的凹印版辊-爱企查
图片尺寸800x535
可调式凹印版辊-爱企查
图片尺寸800x522
防跳动的凹印版辊的制作方法
图片尺寸1000x654
cn206406677u_方便更换的冷压辊失效
图片尺寸969x1000
网纹辊凹版印刷的原理及其特点一
图片尺寸666x348
一种复合结构凹印版辊的制作方法
图片尺寸443x306
一种新型凹印版辊的制作方法
图片尺寸650x352
扩幅弯辊用于印染机械染色机
图片尺寸518x595
一种凹印版辊
图片尺寸1440x810
一种凹版印刷机花纹辊-爱企查
图片尺寸800x592
一种超精细凹印版辊-爱企查
图片尺寸1410x1239
图1凸版印刷原理示意图1—匀墨辊;2—着甩辊;3—印版滚筒; 4一印版;5
图片尺寸459x482
一种凹印版辊的刮墨刀装置-爱企查
图片尺寸1932x1669
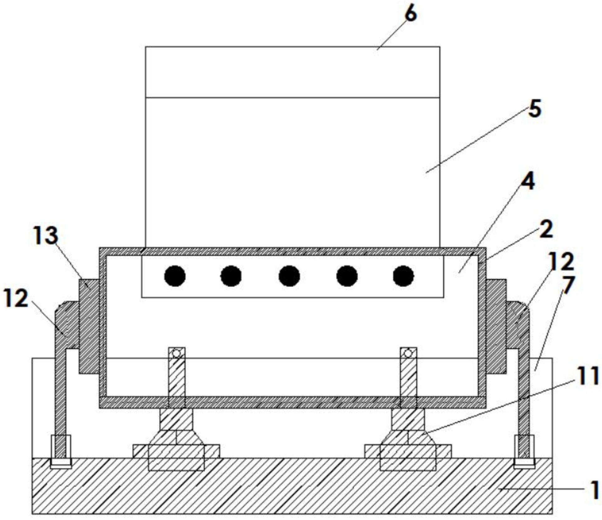
具有防反转功能的凹印版辊的制作方法
图片尺寸444x355
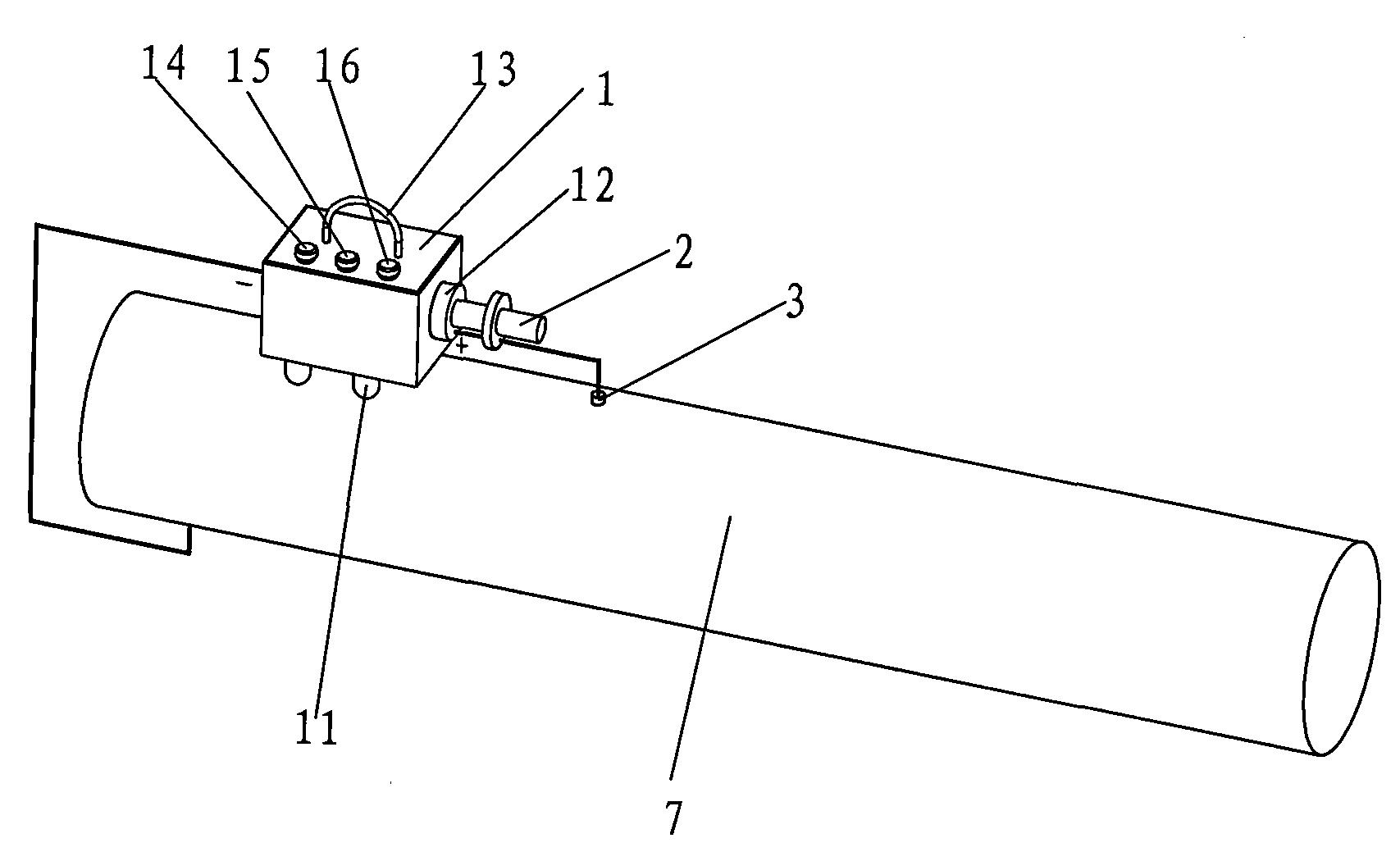
球窝铰接式辊子
图片尺寸945x467
一种凹印版辊生产用高效腐蚀机-爱企查
图片尺寸800x457
一种用于凹印版辊电镀的分段式阳极的制作方法
图片尺寸1000x866
图8-7 辊印成型机工作示意图
图片尺寸707x441
惠利得凹版印刷机复合聚氨酯包胶辊耐磨无动力滚筒辊筒压辊托辊定制
图片尺寸800x800
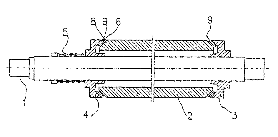
凹印版辊的铜层修补装置-爱企查
图片尺寸1707x1050