出结构

一种注塑模具用二次顶出结构-爱企查
图片尺寸528x461
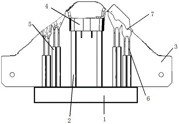
一种厚壁件双色焊接柱顶出结构
图片尺寸581x403
模具设计延时顶出机构的运用秘籍千万别传出去
图片尺寸668x568
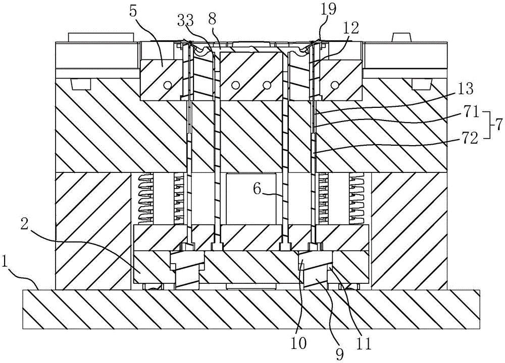
一种注塑模具的二次顶出结构
图片尺寸1495x2005
cn201070820y_进胶侧顶出结构失效
图片尺寸800x595
一种塑料模具顶出结构
图片尺寸1000x699
背面顶出结构
图片尺寸820x383
一种塑胶模具的二次顶出机构-爱企查
图片尺寸1886x1510
cn209466600u_注塑模具顶针延时顶出结构有效
图片尺寸1000x720
一种前模顶出结构
图片尺寸1000x860
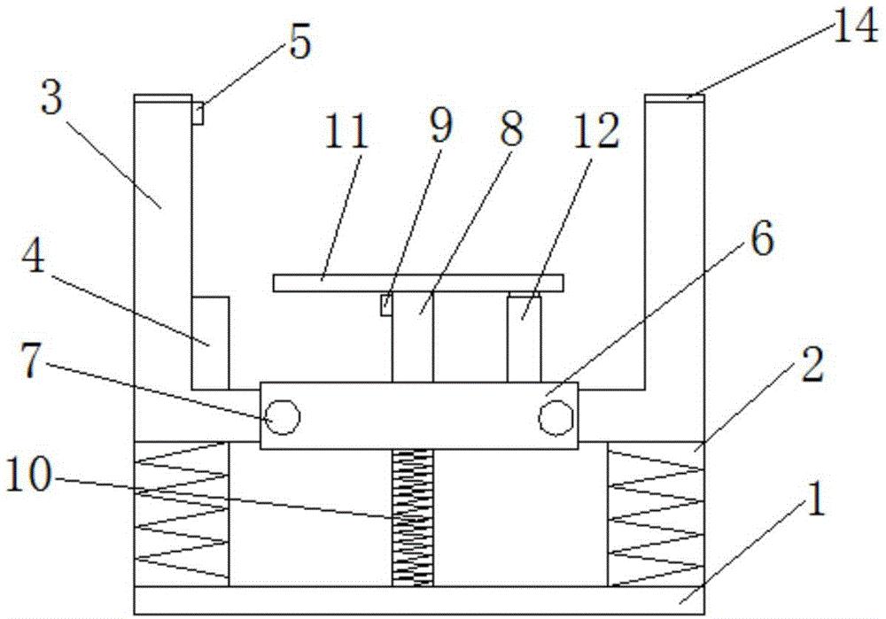
模具顶出结构
图片尺寸820x429
小灯泡前,先让学生自己观察小灯泡的结构,自己去发现,然后画出结构图
图片尺寸1200x800
一种冲压模具顶出结构的制作方法
图片尺寸478x474
顶出结构
图片尺寸820x421
一种汽车门板拉手骨架注塑模具分步顶出结构的制作方法
图片尺寸1000x720
君子兰种子催芽很容易只需简单操作几步很快收获一盆苗儿
图片尺寸459x297
模具斜顶上顶出结构
图片尺寸466x611
一种水上滑梯的防滑出结构的制作方法
图片尺寸550x351
二次顶出结构-爱企查
图片尺寸1894x1247
cn201941138u_一种塑料模具定模斜顶顶出结构失效
图片尺寸1899x2120