刀库结构

bt40-20d型圆盘式刀库
图片尺寸1090x655
优秀毕业设计-加工中心16刀刀库(盘式刀库).rar
图片尺寸1200x800
链条式刀库
图片尺寸2378x1835
源头厂货定制龙门机床用bt50-173a-16z-350行程装左斗笠式刀库
图片尺寸1108x766
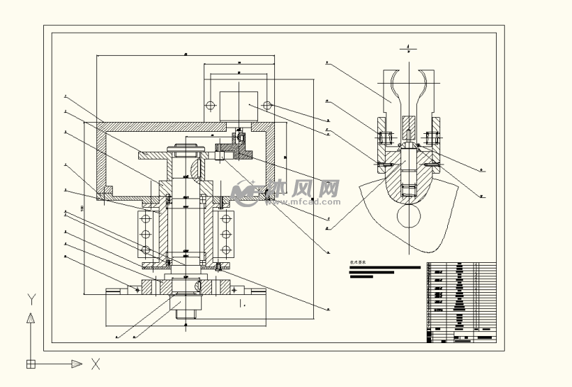
加工中心16刀刀库(盘式刀库)
图片尺寸841x594
数控加工中心刀库和自动换刀装置讲解
图片尺寸577x372
刀库圆盘式斗笠式刀库的区别及应用
图片尺寸721x547
源头厂货定制bt40-99ad-12z-300行程含气缸及感应开关斗笠式刀库
图片尺寸1920x1483
加工中心刀库与自动换刀装置结构设计【10张cad图纸 说明】
图片尺寸800x800
一种磨削中心刀库结构
图片尺寸703x893
圆盘式刀库
图片尺寸820x546
cn210081269u_一种直排式刀库有效
图片尺寸1000x667
加工中心刀库控制与管理ppt 详细介绍了加工中心刀库的机械结构和原理
图片尺寸1080x810
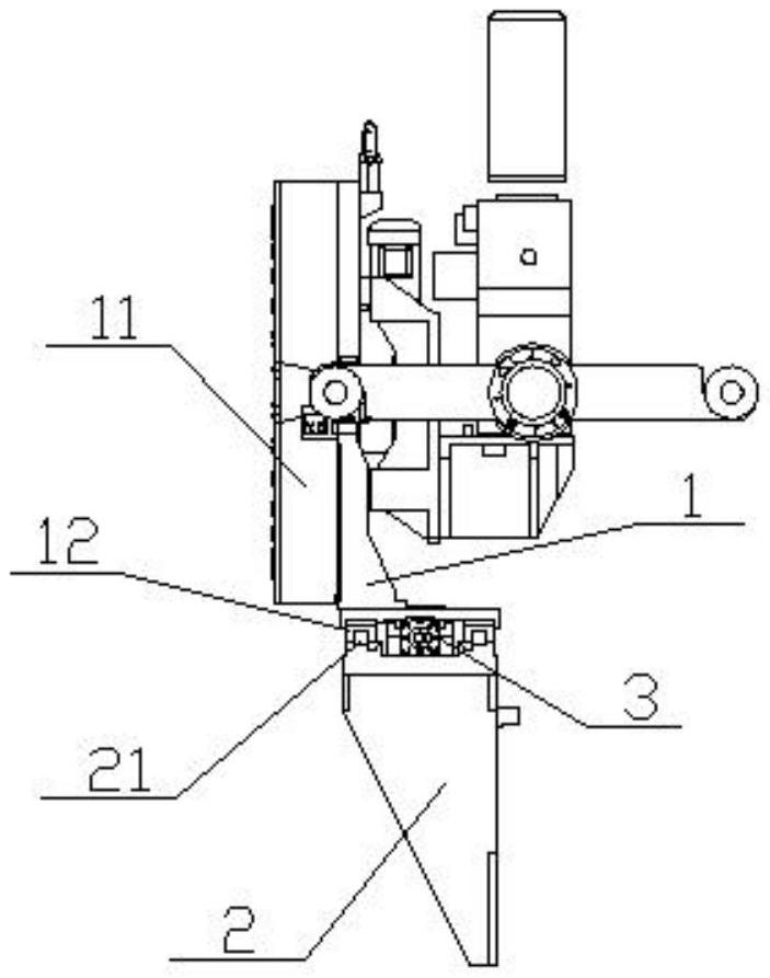
众多的数控机床企业都是有了解的龙利斗笠刀库__财经头条
图片尺寸1386x746
一种直排式刀库的制作方法
图片尺寸1000x670
加工中心刀库机械结构设计
图片尺寸820x555
斗笠式bti30 刀库 可以定制
图片尺寸697x419
冈田bt50刀库线性结构图
图片尺寸820x580
刀库圆盘式斗笠式刀库的区别及应用
图片尺寸723x541
数控加工中心刀库设计【链式 60把】【9张cad图纸文档所见所得】
图片尺寸1200x800