刀的平面图

315款刀具图纸0aa019-图纸文件 (123)
图片尺寸1263x1787
小熊家の cad刀具图纸 300多款刀型图纸 请留下邮箱
图片尺寸750x495
求 平面图 ps cad
图片尺寸1140x620
刀迷福利!经典名刀设计图纸
图片尺寸554x386
刀术教学 身侧马步砍云刀_手机搜狐网
图片尺寸640x479
刀具cad图纸下载精品刀具刀型diy图纸 加工切割刀具二维cad资料机械
图片尺寸750x422
小熊家の cad刀具图纸 300多款刀型图纸 请留下邮箱
图片尺寸750x510
日本刀剑美学
图片尺寸1080x986
小熊家の cad刀具图纸 300多款刀型图纸 请留下邮箱
图片尺寸750x562
刀具cad图纸 刀型设计图 手工刀具线切割加工刀 二维diy刀 素材
图片尺寸750x480
刀迷福利经典名刀设计图纸
图片尺寸554x395
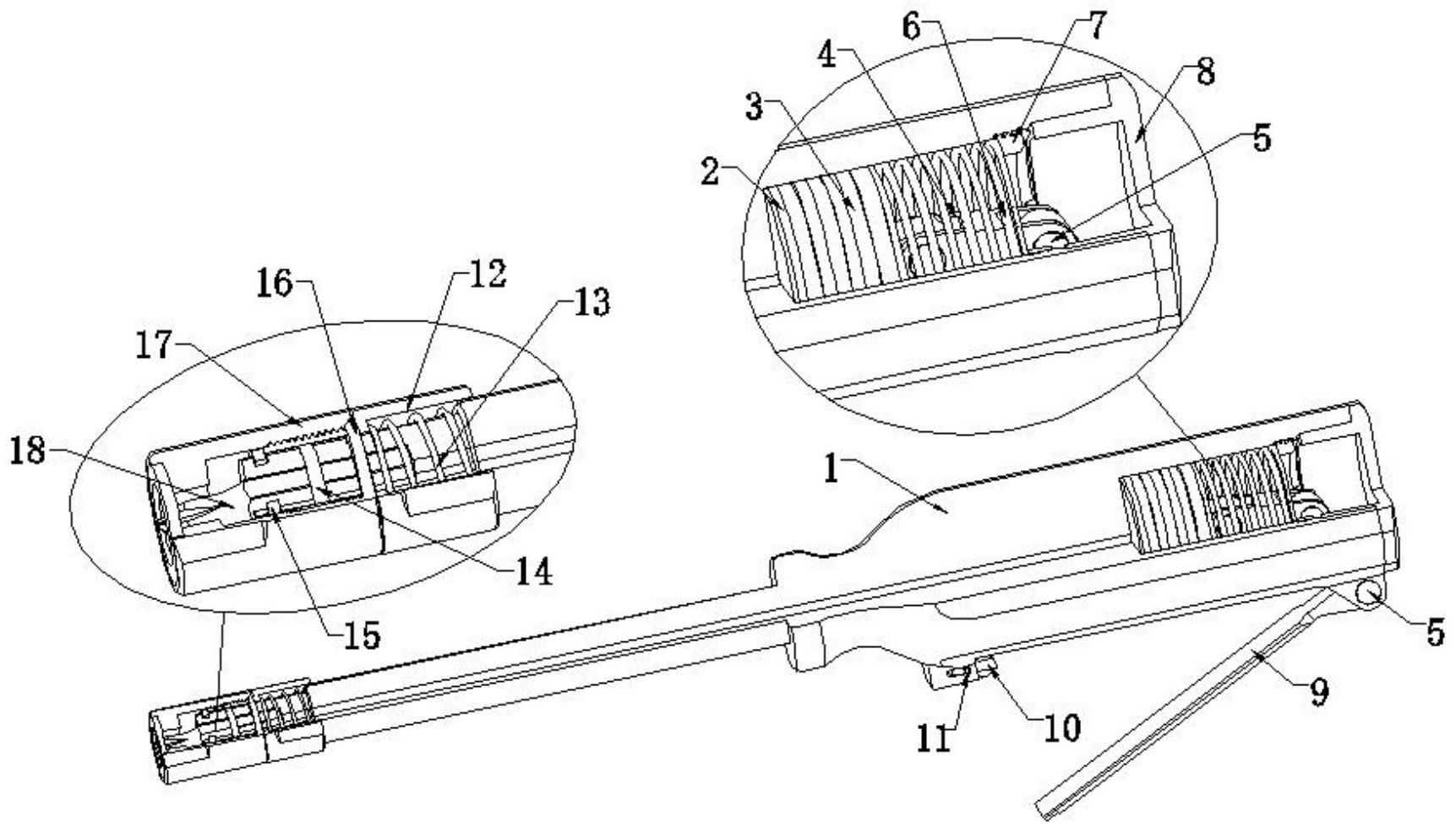
cn113100886a_一种医院使用具有防误触功能的切割刀在审
图片尺寸1778x2678
刀无铭伝延寿
图片尺寸700x3360
微调镗刀的结构示意图---讨论
图片尺寸702x795
浅谈日本刀发展史,中国刀对其的影响
图片尺寸600x1241
车刀在正交平面参考系中独立的标注角度有6个,如图1-9所示.
图片尺寸646x589
cn110861023b_一种带吸附功能的螺丝刀有效
图片尺寸1723x987
cn210210472u_一种新型开启方式的工具刀有效
图片尺寸1542x1130
亚索的刀
图片尺寸1280x752
刀具切削部分的基本定义2007(精)
图片尺寸500x540