分切机结构图

cn209367512u_一种塑料薄膜分切机有效
图片尺寸933x1000
一种金属切割机
图片尺寸2247x2417
hqp150混凝土切割机构造及原理
图片尺寸904x1280
cn109262727a_全自动分切机在审
图片尺寸1912x1520
一种立式epe分切机的制作方法
图片尺寸1000x488
摘 要:本文研究了皮革分切机的分切方案,实践证明其能保证设备运转时
图片尺寸816x556
砂轮切割机,又叫砂轮机,其结构如图1-46所示.
图片尺寸1517x1217
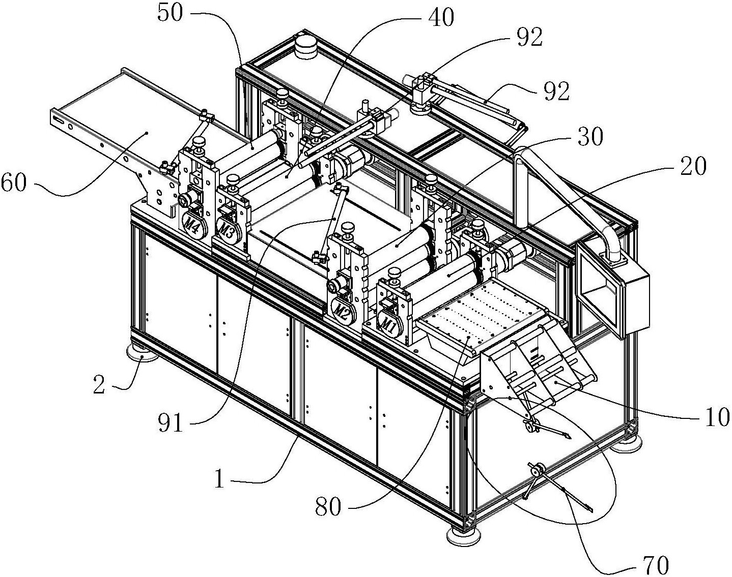
ymis01在线分切机
图片尺寸1535x814
一种分切机的制作方法
图片尺寸1000x734
本实用新型公开了一种高效钢筋切割机,其结构包括基座,脚撑,摩擦杆
图片尺寸1705x1580
一种金属切割机的制作方法
图片尺寸929x1000
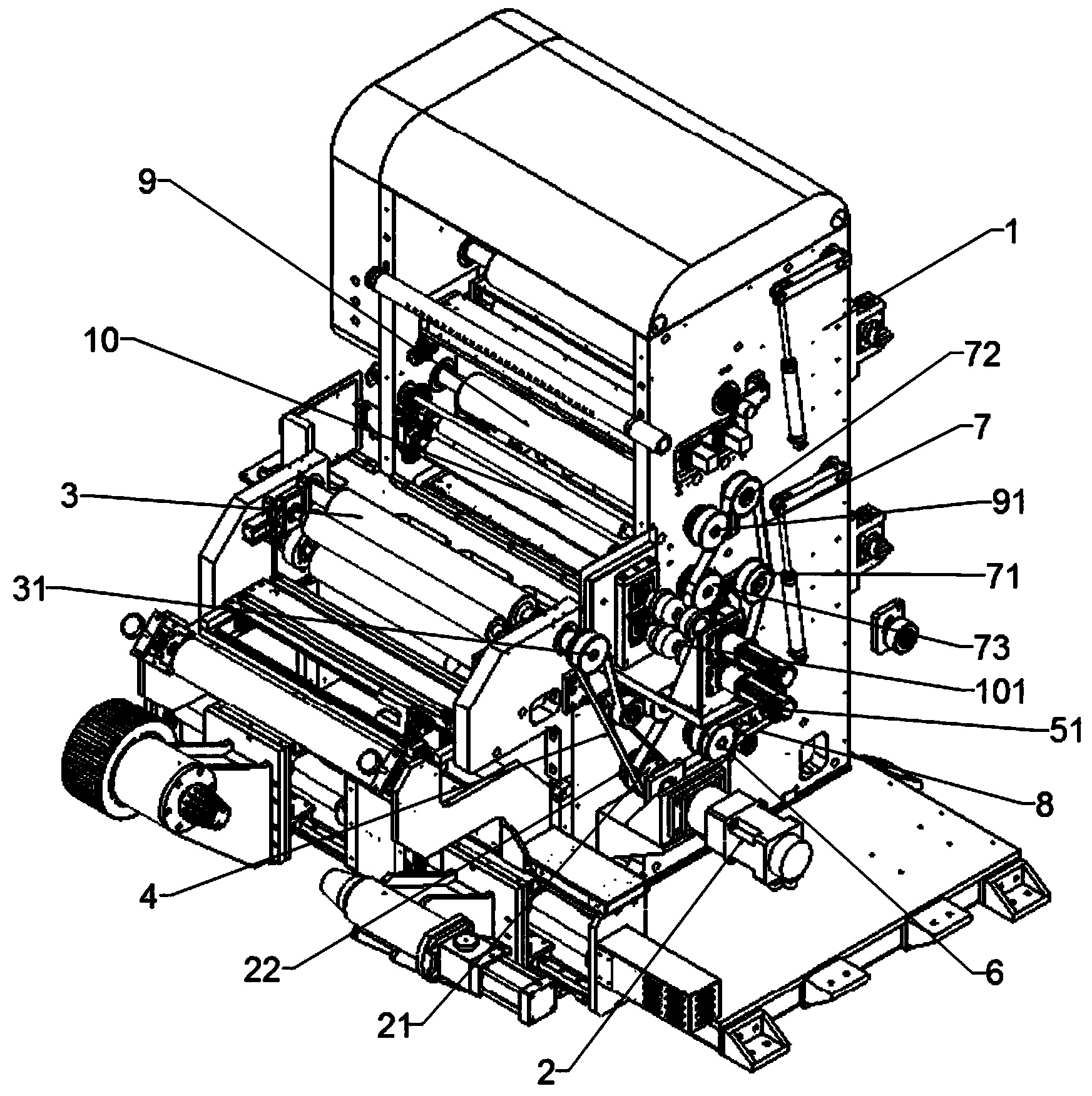
一种电池分切机多辊同步传动结构-爱企查
图片尺寸1745x1752
一种双锯片切割机的制作方法
图片尺寸1000x969
提供一种切割机,该切割机结构简单,操作既快捷方便又简单实用;操作台
图片尺寸1000x870
一种散热翅片成型原料的分切机的制作方法
图片尺寸1000x916
一种片材产品分切机-爱企查
图片尺寸1438x1135
一种切纸机的制作方法
图片尺寸1000x777
切割机的制作方法
图片尺寸782x1000
无纺布自动分切收卷机的制作方法
图片尺寸1000x887
一种电池分切机多辊同步传动结构的制作方法
图片尺寸996x1000