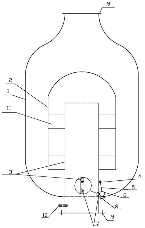
分子封结构图

火炬气从分子封的哪里经过?
图片尺寸436x620
k型填料组合密封结构简图
图片尺寸696x414
装配式油封结构图
图片尺寸1003x459
cn202066019u_用于火炬排放系统中的分子密封器有效
图片尺寸386x600
一种欧冶炉煤气放散分子封防积水结构-爱企查
图片尺寸511x800
主筒连续式高架火炬分子密封器的制作方法与工艺
图片尺寸545x1000
火炬系统讲解总结原创作品
图片尺寸960x720
65899-72-1 阿氯扎封 cas号65899-72-1分子式,结构式,msds,熔点,沸点
图片尺寸300x300
主筒连续式高架火炬分子密封器的制造方法与工艺
图片尺寸545x1000
求甘草中两个物质的分子结构图
图片尺寸516x265
利马扎封_用途_密度_分子量_利马扎封cas号【99593-25-6】_化源网
图片尺寸336x217
电动弹性座封闸阀
图片尺寸930x500
采用连体囊袋式结构,将高分子化学材料浮固德双组份进行预制包装,材料
图片尺寸661x308
2018届生物一轮复习教案:第19讲 dna分子的结构和复制 基因是有遗传
图片尺寸654x505
萘中药化学对照品分子结构图
图片尺寸412x224
火炬结构
图片尺寸1080x810
利马扎封结构式图片|99593-25-6结构式图片
图片尺寸605x375
飞机风挡玻璃的结构三层玻璃与多层高分子聚合物夹层所构成的风挡玻璃
图片尺寸1269x880
火炬头故障分析与改进措施.pdf
图片尺寸800x1157
煤的大分子结构模型示意图
图片尺寸1080x810