分度头结构

100a f11125a万能分度头使用说明书 160a 万能分度头的主要结构
图片尺寸862x451
cn201320701y_一种分度头失效
图片尺寸2503x1403
万能分度头之分度原理
图片尺寸800x600
分度头使用方法
图片尺寸920x1302
分度头的使用方法
图片尺寸595x296
分度头分度 - 热门商品专区
图片尺寸640x480
专利产品数控铣床专用高精度,立卧式万能电动分度头fw-125
图片尺寸500x500
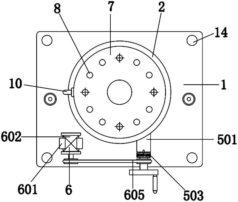
cn110587376a_便捷式分度头
图片尺寸1000x999
万能分度头使用法
图片尺寸920x1302
万能分度头的结构3)通过交换齿轮,可以使分度头主轴随纵向工作台的
图片尺寸1413x766
分度头结构及用法
图片尺寸332x261
分度头的使用方法分度头的操作规程
图片尺寸920x1303
数控分度头的制作方法
图片尺寸1000x802
万能分度头钢铣床分度头
图片尺寸886x466
f11系列万能分度头
图片尺寸1200x815
f11系列万能分度头安装尺寸图
图片尺寸659x476
一种直驱分度头的新型结构-爱企查
图片尺寸800x680
宁波远山专业生产万能分度头,分度盘,f11-100a万能分度头厂家
图片尺寸585x555
分度头ppt
图片尺寸1080x810
分度头结构及用法
图片尺寸396x330