分诊台简笔画

护士分诊台接诊插画图片
图片尺寸280x421
分诊台也冷清了好多,护士们有条不紊地工作.
图片尺寸640x454
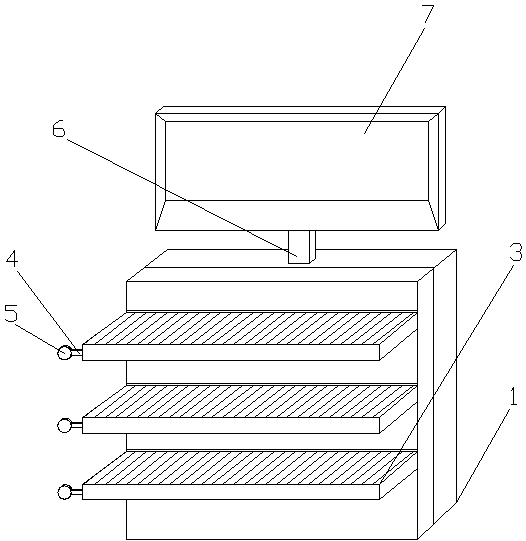
一种多功能彩超室预检分诊台的制作方法
图片尺寸1000x661
一种门诊初检护理分诊台
图片尺寸1400x1374
我有一个呼吸科的闺蜜,有次聊天的时候苦笑着说:一个上午的门诊能把
图片尺寸613x433
扁平化就医分诊台插画设计素材
图片尺寸1024x1542
长兴民福中医院--转角遇见爱
图片尺寸750x624
导医台主要用于分诊,若患者患有可空气传播的传染病,则易造成医务人员
图片尺寸588x361
一种急诊科分诊的管理用智能记录显示牌
图片尺寸526x541
护士分诊台医生患者轮椅插画
图片尺寸700x862
协和急诊故事之分诊台
图片尺寸600x480
创无双医生眼科接种老师弧形护士站儿科诊断疗桌接诊桌分诊登记办公
图片尺寸350x350
分诊台的美女护士 在川北医学院附属医院门诊三楼二区耳鼻喉科分诊台
图片尺寸2146x1280
定制医院前台导诊导医台分诊台牙科诊所服务台接待台护士站工作台
图片尺寸884x884
儿科护士分诊台
图片尺寸563x422
弧型分诊台
图片尺寸1200x680
医院大厅前台分诊处导医服务台导诊台护士站护士工作台护士办公桌
图片尺寸800x800
护士站工作台咨询台分诊台导诊台分诊台
图片尺寸1300x570
一种方便自由移动的多功能急诊分诊自助装置的制作方法
图片尺寸443x432
医院大厅导诊台,预检分诊台柜,护士站,住院部咨询医用登记台
图片尺寸400x300