分风箱内部结构

风箱由木箱(上底下底,前档后档),活塞,活门三部分构成.
图片尺寸848x568
木质风箱结构
图片尺寸537x302
(顶板上的"插盖"是可以随时用手退出来,查看风箱里的情况)风箱也分大
图片尺寸640x454
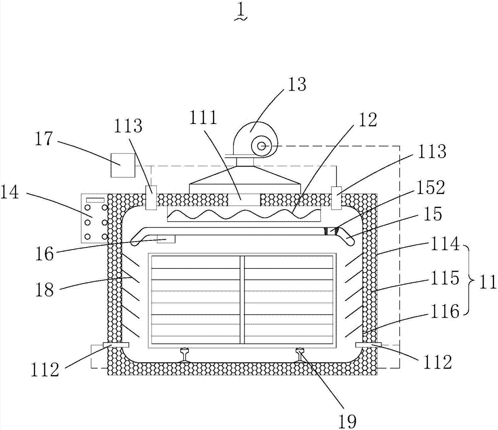
通风柜结构图示通风柜技术参数technical parameters of fume hood
图片尺寸839x573
分风箱#实体厂家 #工厂实拍视频 - 抖音
图片尺寸800x800
风箱原理及构造
图片尺寸400x254
我的人生路九
图片尺寸366x205
家装新风系统管道配件分风箱金属分风箱分支箱一分五六七八分风箱
图片尺寸800x800
循环风箱,属于制药设备技术领域,包括烘干外箱,加热结构和风循环结构
图片尺寸1082x1441
为农户用的一种风箱的结构示意图,其中在a,b,c,d四处分别装有单向通风
图片尺寸408x369
1,分动箱结构和原理
图片尺寸1920x1080
空分主冷照片及结构示意图
图片尺寸680x553
静压分风箱:适用于顶送风 pe管道的家庭活性炭箱:会有一个外置过滤器
图片尺寸717x473
新风系统的分风箱有什么门道呢
图片尺寸1080x1439
cn201354347y_新型供风方式的玻璃钢化炉用集风箱有效
图片尺寸1872x1659
新风pe管道分风箱消音降噪隔音静音一分四五六七分配分支器分风箱
图片尺寸800x800
新风系统分风箱pe管道分支器顶送风金属分风箱abs 一分六 一分十
图片尺寸800x800
热风循环风箱
图片尺寸1000x864
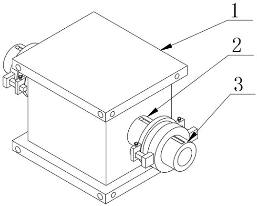
摘要附图摘要本实用新型公开了一种通风系统方形风箱,包括分风箱本体
图片尺寸527x422
通用空气全热新风系统内部结构图值得一提的是,通过多个安装实例证明
图片尺寸650x475