切口撑开器

weitlaner 3x4齿自动撑开器-尖/13cm
图片尺寸1823x2994
手术切口撑开器是外科手术中用于将患者切口保持打开的一种常用工具
图片尺寸443x349
眼睑撑开器撑开器螺丝可调节钢丝式开封口双眼皮实验室开睑器 【钛】
图片尺寸1500x2322
杨飞自备撑开器一件
图片尺寸2000x3556
眼睑撑开器开睑器钢丝可调节v型双眼皮手术工具美容整形眼科器械 可
图片尺寸750x400
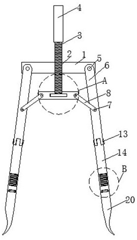
一种适用于dbs的头皮切口撑开器的制作方法
图片尺寸357x443
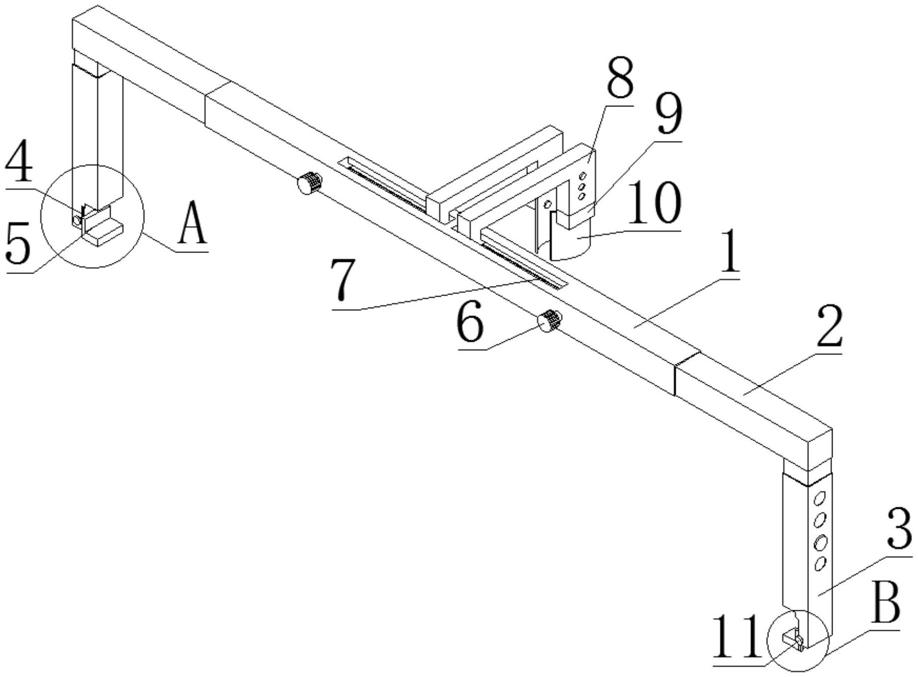
一种普外科用手术切口辅助撑开器
图片尺寸278x487
克氏针撑开钳 l200 (2).png
图片尺寸700x382
万向华创骨科手术器械医用胫骨平台牵开器带齿膝关节撑开钳膝盖撑开器
图片尺寸750x500
杨飞自备撑开器一件
图片尺寸3556x2000
小动物 外科骨科手术器械 医用 皮肤撑开器 组织撑开钳 多钩牵开器
图片尺寸500x500
髌骨滑车加深 组织皮肤撑开器 拉钩 重叠交叉头 宠物 小切口 单钩
图片尺寸750x500
撑开器 1x1钝爪 2cm 18-4120
图片尺寸880x660
cn213588362u_一种脊柱外科手术切口撑开器有效
图片尺寸1827x1349
撑开器 18-4190
图片尺寸880x660
瑞沃德r22009-01 alm 4x4齿撑开器-钝/7.5cm
图片尺寸810x624
眼科器械开睑器做双眼皮手术工具开眼角撑开器钢丝封口缺口扩口器
图片尺寸300x300
牙科工具橡皮障套装打孔钳撑开器支架口腔科根管修复手术器械材料
图片尺寸800x800
一种切口撑开器的制作方法
图片尺寸411x443
wullstein 3x3齿自动撑开器-尖/13cm
图片尺寸2145x3876