刘广权廉江

广东省廉江商会第三届庆典大会在广州举行|广州市_网易订阅
图片尺寸640x415
各司其职各尽其能
图片尺寸1080x716
市委常委,政法委书记赵洪权出席会议并讲话.
图片尺寸700x466
廉商通四海广东省廉江商会第三届庆典大会在广州举行
图片尺寸660x373
各行业精英及廉江市副市长李启明莅临mcgo美车广西南宁分公司参观指导
图片尺寸800x600
金融顾问制度五年成绩单:累计对接企业8万余家
图片尺寸3999x2231
金融顾问制度五年成绩单:累计对接企业8万余家
图片尺寸3953x2161
金融顾问制度五年成绩单:累计对接企业8万余家
图片尺寸1080x12224
云开·全站appkaiyunapp 独行侠官推晒球员酷帅图片:总决赛 我们来了!
图片尺寸1080x1831
各行业精英及廉江市副市长李启明莅临mcgo美车广西南宁分公司参观指导
图片尺寸800x600
"1 n",全方位,综合性服务,金融顾问做实金融"五篇大文章"
图片尺寸668x7562
金融顾问制度五年成绩单:累计对接企业8万余家
图片尺寸3999x2231
金融顾问制度五年成绩单:累计对接企业8万余家
图片尺寸1080x12224
2023年4月中旬,一个复杂而又令人疑惑的股权交易安排被披露.
图片尺寸523x333
一人得道鸡犬升天,看看汉高祖刘邦的三个兄弟都得到了什么好处
图片尺寸390x213
继承传统,铸就未来:微纪录片《非遗之后的"我们"》
图片尺寸660x396
160亿现金,四年回购20亿全部注销!健康元开辟呼吸道新赛道
图片尺寸700x460
各行业精英及廉江市副市长李启明莅临mcgo美车广西南宁分公司参观指导
图片尺寸800x600
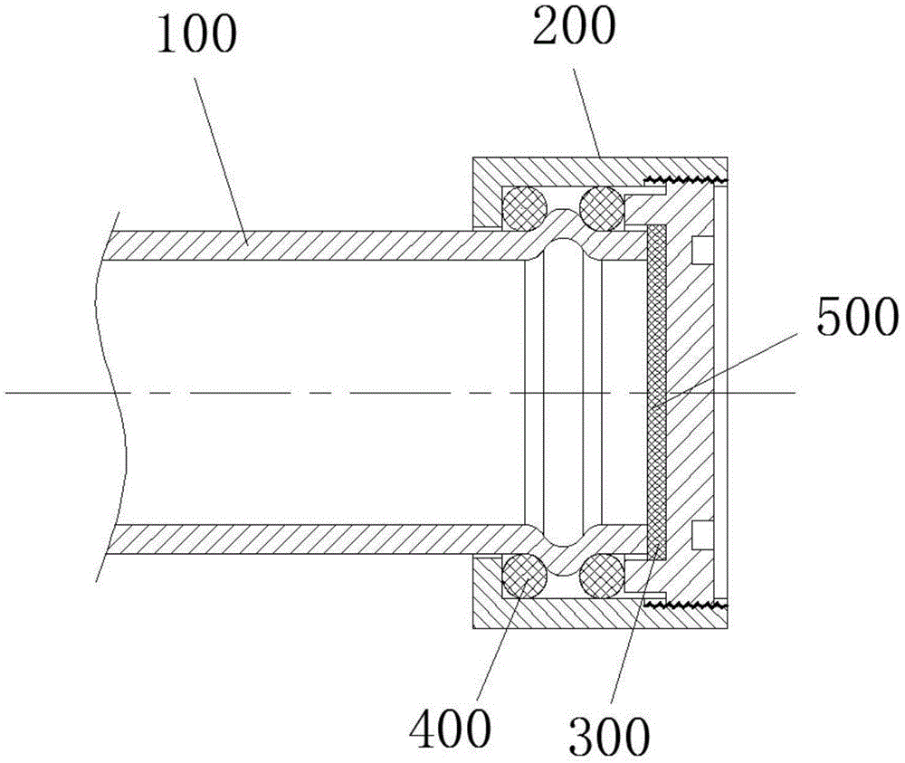
cn209705528u_一种用于密封石英管的改进型石英管帽有效
图片尺寸1000x843
姑且把这次股权转让当做你卖了房子,房子的处置权还是在你,这不就相当
图片尺寸630x395