刮吸泥机图纸

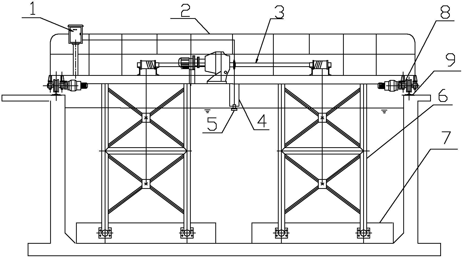
智能行车式刮泥机
图片尺寸1795x1001
60m中心传动刮泥机设计毕业设计
图片尺寸907x487
供应桁车式刮吸泥机 桁车式吸泥机
图片尺寸550x617
中心传动刮泥机剖面示意图
图片尺寸520x400
传动式刮吸泥机全桥半桥传动刮泥机中心传动刮吸泥机
图片尺寸896x444
cg30c00刮泥机图纸总图
图片尺寸757x536
cad行车式刮泥机图纸图片
图片尺寸1024x1478
tgn7-10行车抬耙式刮泥机
图片尺寸789x431
phx型行车式刮吸泥机
图片尺寸660x441
刮泥机的制作方法
图片尺寸1000x833
中心转动刮泥机
图片尺寸650x500
供应河北中心传动刮吸泥机虹吸式刮泥机厂家直销品质优
图片尺寸959x643
桁车式刮吸泥机
图片尺寸637x421
刮吸泥机的两种机型简图及生产技术参数
图片尺寸425x550
一种中心传动刮泥机制造技术
图片尺寸1000x554
>产品规格注:设备生产一般根据设计图纸或现场尺寸确定,以上参数只是
图片尺寸650x402
行车式刮泥机设计图下载(120.75 kb,dwg格式) 机械cad图纸
图片尺寸661x372
刮泥机,中心传动刮泥机,中心式刮泥机,中心传动浓缩刮泥机
图片尺寸1920x1491
周边传动刮吸泥机
图片尺寸552x538
液压往复式刮泥机图下载(177.51 kb,dwg格式) 机械cad图纸
图片尺寸1186x843