刮粪板结构图

一种猪舍自动刮粪板的制作方法
图片尺寸443x354
一种组合式刮粪板结构的制作方法
图片尺寸295x465
一种可根据粪道宽度调节的刮粪板的制作方法
图片尺寸1000x513
一种猪粪清理用刮粪板
图片尺寸1841x935
2017新型环保养殖畜牧专用粪尿分离全自动304不锈钢刮粪机清粪设
图片尺寸750x1058
一种可根据粪道宽度调节的刮粪板的制作方法
图片尺寸1000x448
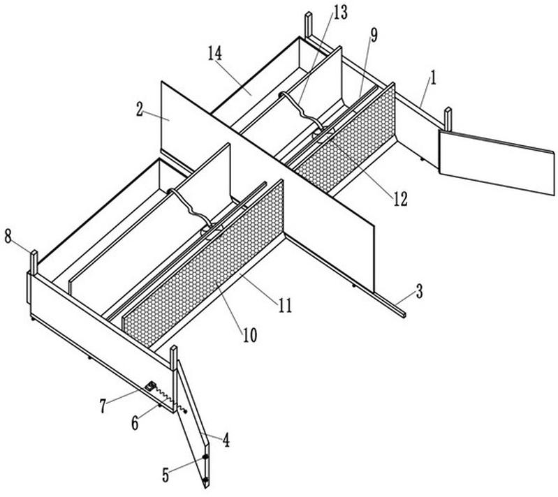
包括固定支架,活动支架以及刮粪板,所述固定支架为棱形结构,固定支架
图片尺寸908x1000
在清理粪便时会使用到刮粪板进行施工处理,现有刮粪板结构单一,不能对
图片尺寸1000x378
一种多道刮粪板装置的制作方法
图片尺寸1000x517
一种自动板式刮粪机构的制作方法
图片尺寸1000x468
一种全自动刮粪机刮板装置-爱企查
图片尺寸799x712
一种新型刮粪装置的制作方法
图片尺寸460x446
一种具有耐磨保护辊的清洁型可调尺寸刮粪板系统的制作方法
图片尺寸1000x629
往复式刮板清粪设备
图片尺寸753x421
该装置一般包括一个固定的刮粪板,而固定结构的刮粪板经过长期的
图片尺寸1000x600
一种牛舍保温漏粪板的制作方法
图片尺寸444x321
刮粪系统构造及运行过程
图片尺寸1148x653
供应智能刮粪机|北京海慧
图片尺寸582x450
包括有四个转角器(400),牵引线(300),两个结构相同的刮粪车(100),驱动
图片尺寸1000x587
养殖场专用清洁设备 全自动刮粪机 清粪机
图片尺寸683x600