制冰机图纸

制冰机工作原理与常见故障维修
图片尺寸1293x1193
衡岳280p120kg制冰机商用奶茶店酒吧食用方块制冰机 厂家
图片尺寸1496x1920
用科制冰机安装基本要求
图片尺寸1436x758
ims全自动雪花制冰机使用说明
图片尺寸651x490
制冰机的制作方法
图片尺寸940x1000
制冰机
图片尺寸543x709
一种制冰机的制冷系统
图片尺寸1882x1511
小型制冰机的工作原理图
图片尺寸797x526
cn101713598a_吸收式冷冻机有效
图片尺寸2225x1536
一种单组板板冰机热气脱冰制冷系统
图片尺寸2708x1492
cn101818958a_一种三组板板冰机热气脱冰制冷系统有效
图片尺寸2822x2005![manitowoc万利多ecs041aci-251制冰机说明书:[2]](https://i.ecywang.com/upload/1/img1.baidu.com/it/u=2999174706,1539347292&fm=253&fmt=auto&app=138&f=JPEG?w=500&h=647)
manitowoc万利多ecs041aci-251制冰机说明书:[2]
图片尺寸2448x3168
衡岳制冰机厂家直销300p大型商用奶茶店酒吧酒店方冰机136公斤
图片尺寸1486x1919
一种制冰机的制作方法
图片尺寸813x1000
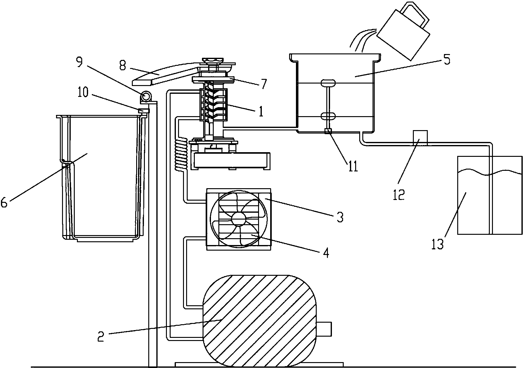
一种全自动雪花制冰机的制作方法
图片尺寸786x671![manitowoc万利多qy0275w型制冰机说明书:[2]](https://i.ecywang.com/upload/1/img2.baidu.com/it/u=351957424,582183564&fm=253&fmt=auto&app=138&f=JPEG?w=500&h=647)
manitowoc万利多qy0275w型制冰机说明书:[2]
图片尺寸989x1280
一种制冰机的制冷装置
图片尺寸1817x1283
一种脱冰控制方法,装置及制冰机制造方法及图纸
图片尺寸1000x377
具有电容水位感测的制冰机的制作方法
图片尺寸1000x807
一种制冰机系统
图片尺寸1686x1185