制冷分液头图纸

一种用于空调制冷的分液头_cn201921701738.5_知雀网
图片尺寸861x769
一种空调制冷用分液头的制作方法
图片尺寸1000x641
一种用于空调制冷的分液头的制作方法
图片尺寸869x778
一种空调用的分液器的制作方法
图片尺寸309x444
常规的分液头工作时大多使制冷剂由进液管进入分液头的腔体后直接通过
图片尺寸358x449
摘要附图摘要本实用新型公开了一种分液器,解决了制冷剂分配不均的
图片尺寸1078x1991
一种使制冷剂能够均匀分布的分液头的制作方法
图片尺寸430x1000
制冷或冷却气体的液化或固化装置的制造及其应用技术
图片尺寸1000x487
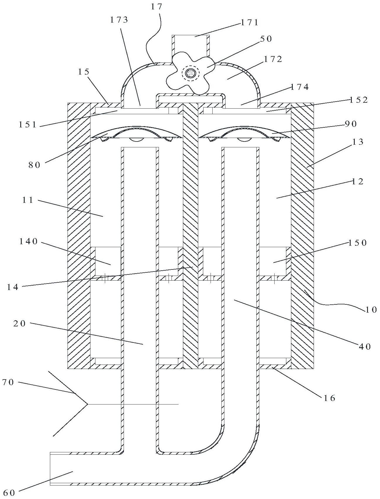
一种制冷系统用分液头组件的制作方法
图片尺寸1000x578
分液器分配不均,会使一些分路制冷剂过多,导致产生较小过度热,蒸发
图片尺寸899x1000
制冷或冷却气体的液化或固化装置的制造及其应用技术
图片尺寸444x311
一种用于空调制冷的新型分液器
图片尺寸444x356
一种制冷系统用分液头组件技术方案
图片尺寸689x1000
制冷或冷却气体的液化或固化装置的制造及其应用技术
图片尺寸744x1000
cn212339696u_分液器及具有其的空调系统有效
图片尺寸1294x1700
制冷或冷却气体的液化或固化装置的制造及其应用技术
图片尺寸856x1000
制冷系统中分液器的类型与结构
图片尺寸537x298
一种分液头 本技术涉及一种制冷
图片尺寸825x988
集水器 分集水器 空调地源热泵分水器 集水器 厂家供应 分集水器
图片尺寸1920x846
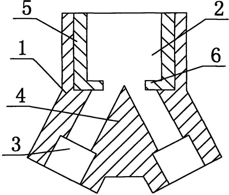
cn201903231u_分液器失效
图片尺寸800x682