制动主缸总成

制动主缸总成,t11-3505010ac
图片尺寸600x350
hella 8am 355 505-641 制动主缸
图片尺寸500x333
制动总泵(制动主缸)
图片尺寸1920x1920
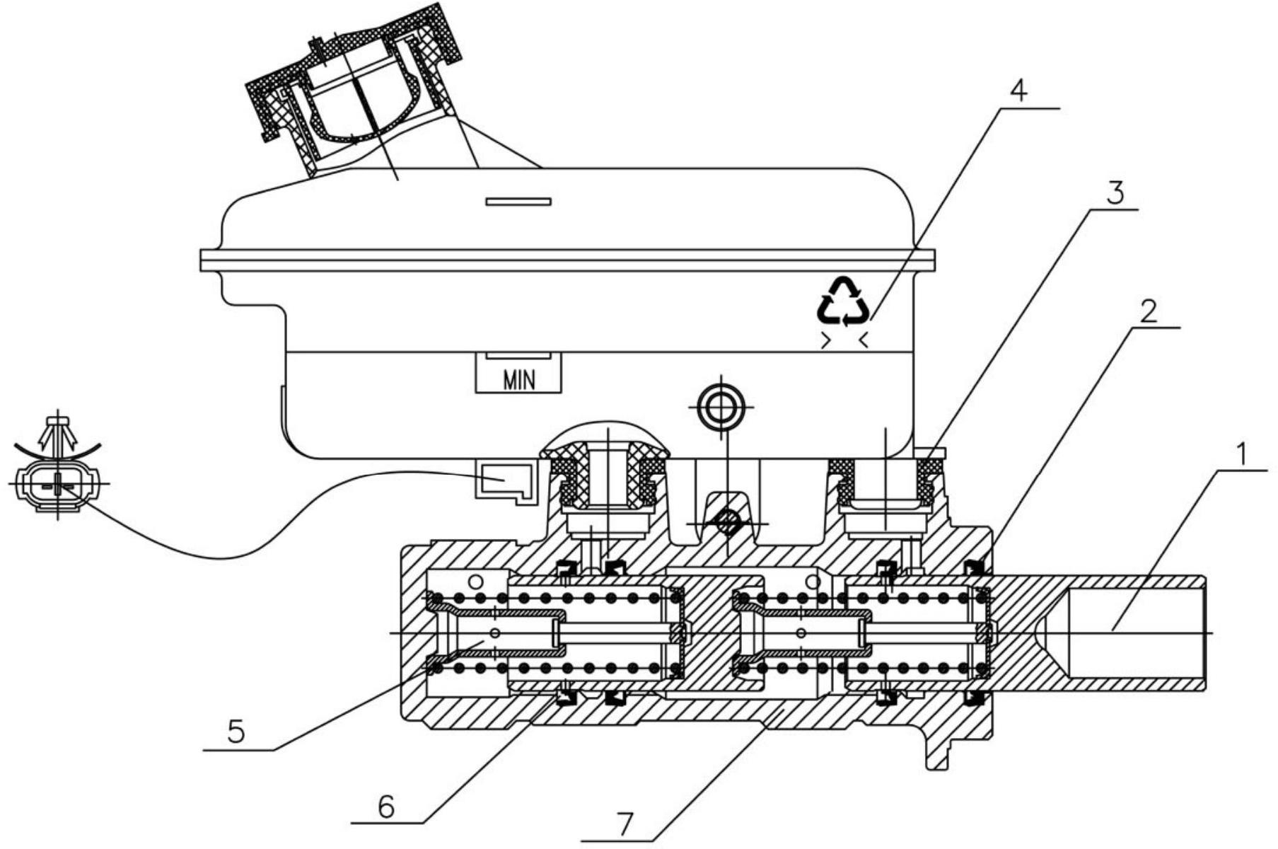
制动主缸总成(32缸径)
图片尺寸1090x1039
制动主缸总成,24513756
图片尺寸640x480
制动缸
图片尺寸1200x800
制动主缸
图片尺寸1200x1200
制动主缸总成,23545438
图片尺寸2496x1872
适用 五菱荣光刹车总泵 五菱宏光制动主缸总成 刹车总泵油缸带abs
图片尺寸750x562
baco 制动主缸丰田 47201-0k020 472010k020 innova 13/16"
图片尺寸1500x1500
制动主缸总成,23905197
图片尺寸1824x1368
制动主缸总成,23904734
图片尺寸2144x1608
制动缸制动主缸总成 oem 46010-41u10 适用于 46010-41u10 d22
图片尺寸1000x1334
制动主缸总成,24546097
图片尺寸1024x768
制动主缸总成,t21-6gn3505010
图片尺寸600x400
制动主缸总成-爱企查
图片尺寸1807x1200
制动主缸总成,24545652
图片尺寸4288x3216
汽车制动缸制动主缸五十铃8-94313-438-2
图片尺寸1920x1080
制动主缸总成,j60-3505010
图片尺寸600x600
制动主缸总成,24517648
图片尺寸640x480