制动阀结构图

用于装载机的新型气制动阀
图片尺寸1723x2333
制动控制系统的组成与作用城市轨道交通车辆制动技术
图片尺寸608x417
质量稳定通用性强 威伯科wabco手制动阀
图片尺寸550x388
cn2158821y_机动车挂车制动阀失效
图片尺寸2016x2288
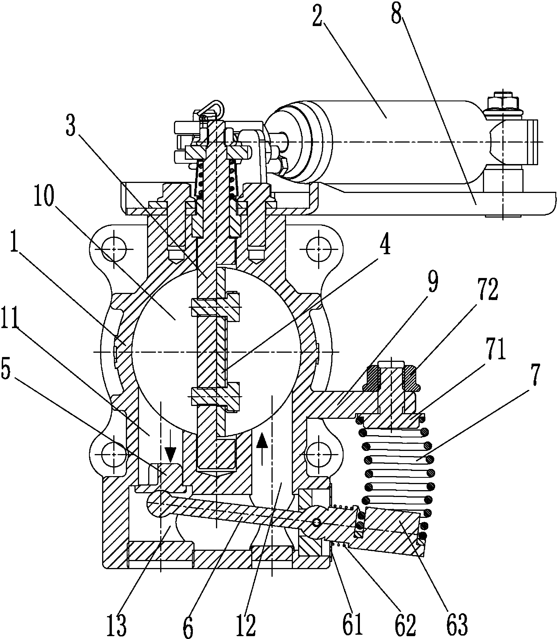
(2)制动控制阀的组成如图7-4所示:主要由上壳体,下壳体,平衡臂,膜片及
图片尺寸1458x1262
一种工程机械的气制动阀-爱企查
图片尺寸969x1388
cn204659720u_一种双腔制动阀失效
图片尺寸728x1000
制动阀
图片尺寸574x439
本发明涉及一种新型杠杆式排气制动阀,其阀体为一体式结构,其上安装有
图片尺寸1947x2232
制动阀 - 热门商品专区
图片尺寸937x1055
常规制动阀类介绍——挂车阀
图片尺寸640x480
一种锁紧机构及具有该结构的制动阀的制作方法
图片尺寸816x1000
常规制动阀类介绍 紧急继动阀基础知识
图片尺寸640x480
cn203472846u_低踏板力制动总阀失效
图片尺寸756x1000
背景技术:在车辆行驶过程中,一般气压制动阀采用制动阀结构通过阀杆的
图片尺寸532x720
制动系统-各种阀类原理介绍
图片尺寸3517x1615
二十四(5),动力制动系统
图片尺寸544x494
一种液压制动阀及其排气工艺方法与流程
图片尺寸355x505
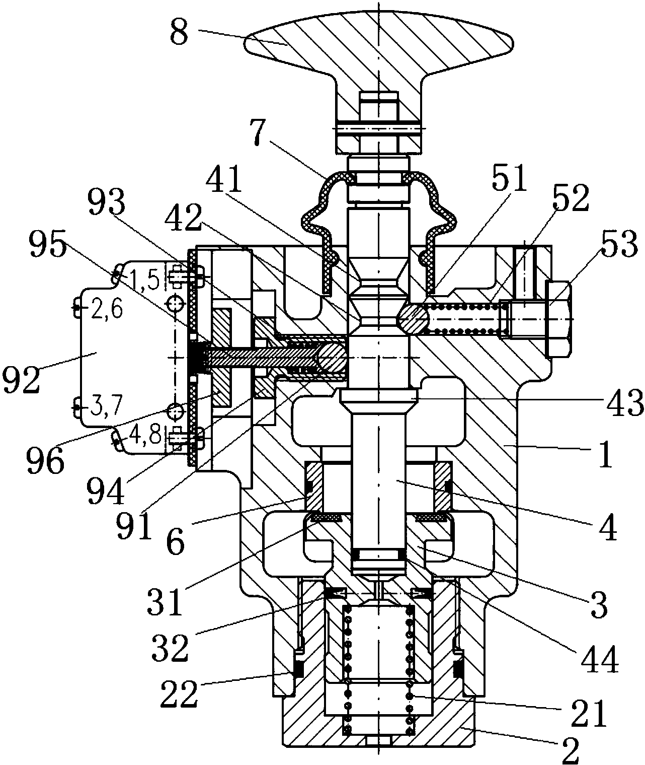
cn207374363u_一种锁紧机构及具有该结构的制动阀有效
图片尺寸1282x1519
"无人驾驶"不是高科技 驻车假象需提防
图片尺寸675x749