剃须刀结构图草图

一种安全剃须刀-爱企查
图片尺寸2420x1587
往复式剃须刀
图片尺寸1318x2099
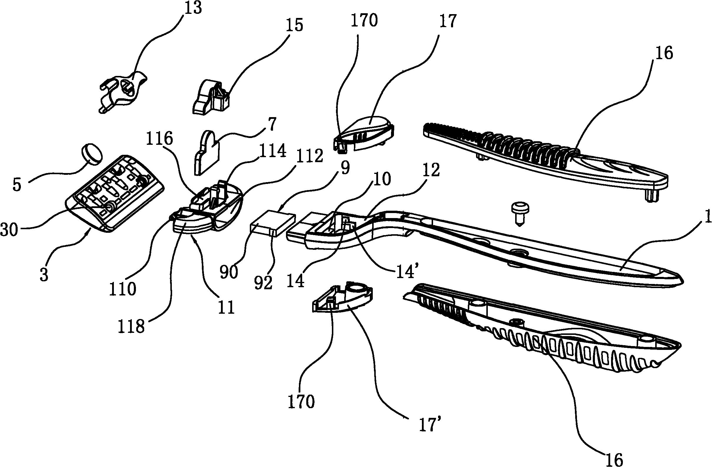
cn101870114a_往复式电动剃须刀有效
图片尺寸2016x2235
philips/飞利浦电动剃须刀pq222 充电式男士双刀头胡须刀
图片尺寸765x737
ipad产品手绘9015剃须刀步骤图.根据我平时的画画习惯,导 - 抖音
图片尺寸1440x1920
一种带加减档的剃须刀-爱企查
图片尺寸944x1579
手动剃须刀的制作方法
图片尺寸1000x843
cn101890730a_全方位浮动的旋转式剃须刀失效
图片尺寸2043x1888
8款剃须刀设计
图片尺寸1080x608
目前市场上的电动剃须刀刀头结构通常比较复杂,细小零件较多,包括刀网
图片尺寸304x443
目前现有的圆柱形便携剃须刀刀头部分的结构是由金属加工成带螺纹的
图片尺寸443x295
一种电动剃须刀的制作方法
图片尺寸628x1000
cn101797757a_电动剃须刀有效
图片尺寸1686x1404
一种可测量温度的旋转式三头剃须刀的制作方法
图片尺寸297x443
cn203003930u_一种多功能剃须刀失效
图片尺寸818x1000
一种可拆卸浮动式剃须刀制造技术
图片尺寸648x1000
一种无线充电的防水剃须刀制造技术
图片尺寸807x1000
cn107696071a_一种便于清理胡须的剃须刀失效
图片尺寸1058x2097
往复式剃须刀(fs631)-爱企查
图片尺寸920x1312
头部可全方位浮动的旋转式剃须刀
图片尺寸673x1000