前模斜抽芯结构

斜抽芯结构剖视图
图片尺寸820x682
面板注塑模具-斜抽芯结构
图片尺寸820x654
汽车油箱盖产品前模斜抽芯结构
图片尺寸425x605
前模油缸斜抽芯
图片尺寸1742x818
前模油缸斜抽芯
图片尺寸1742x818
注塑模斜导柱抽芯机构的简易加工方法
图片尺寸1468x2088
cn212603144u_注塑模具定模侧斜孔抽芯机构有效
图片尺寸1772x2289
注塑模具之斜顶抽芯机构(多图)
图片尺寸1366x768
斜向定模抽芯的抽出机构及注塑装置的制作方法
图片尺寸989x862
汽车水箱盖前模斜弹块前模隧道斜抽芯
图片尺寸467x495
产品上倒扣较多,前模采用a板浮动驱动抽芯脱扣,后模带二次行位结构,多
图片尺寸653x552
斜抽芯塑料模
图片尺寸1235x762
液压长抽芯注射模设计
图片尺寸640x345
一种具有缓冲结构的前模斜抽芯结构的制作方法
图片尺寸438x444
斜导柱侧向抽芯机构的注塑模
图片尺寸720x540
一种注塑模具的斜顶抽芯结构的制作方法
图片尺寸1000x816
喷雾器喷头斜抽芯注射模设计
图片尺寸820x579
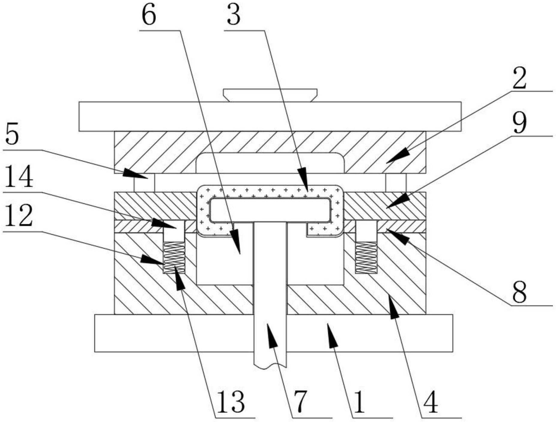
一种注塑模具用快速抽芯斜顶结构
图片尺寸1852x1408
应用技术 本发明涉及金属压铸模具和塑料注射模具的抽芯机构,它是利用
图片尺寸1000x721
打印机齿条模具前模抽芯二次行位弹性斜顶
图片尺寸657x487