剑杆织机 原理

剑杆织机的工作原理1
图片尺寸755x602
天马11剑杆织机慢速装置工作原理及常见故障分析研究pdf3页
图片尺寸1285x1817
埃斯顿edb伺服系统在剑杆织机中的应用
图片尺寸510x284
免费文档 所有分类 高等教育 工学 织机的工作原理ppt 剑杆织机,喷气
图片尺寸1080x810
剑杆机构.#剑杆织布机 #剑杆织机 #织机 #纺织行业 - 抖音
图片尺寸1248x856
古老的科技~织布机
图片尺寸1066x611
cn102605514a_一种剑杆织机有效
图片尺寸1747x1312
【二手9成新】剑杆织机原理与使用(第二版)
图片尺寸800x800
克朗普顿根据手工纺车原理创造了走锭细纱机,这是早期的两种细纱机.
图片尺寸432x312
cn202415850u_一种剑杆织机有效
图片尺寸1728x1293
小物大智慧:玩具织布机里的织造奥秘
图片尺寸850x579
cn201835061u_一种剑杆织机的驱动机构有效
图片尺寸1549x895
剑杆织机ppt课件
图片尺寸920x690
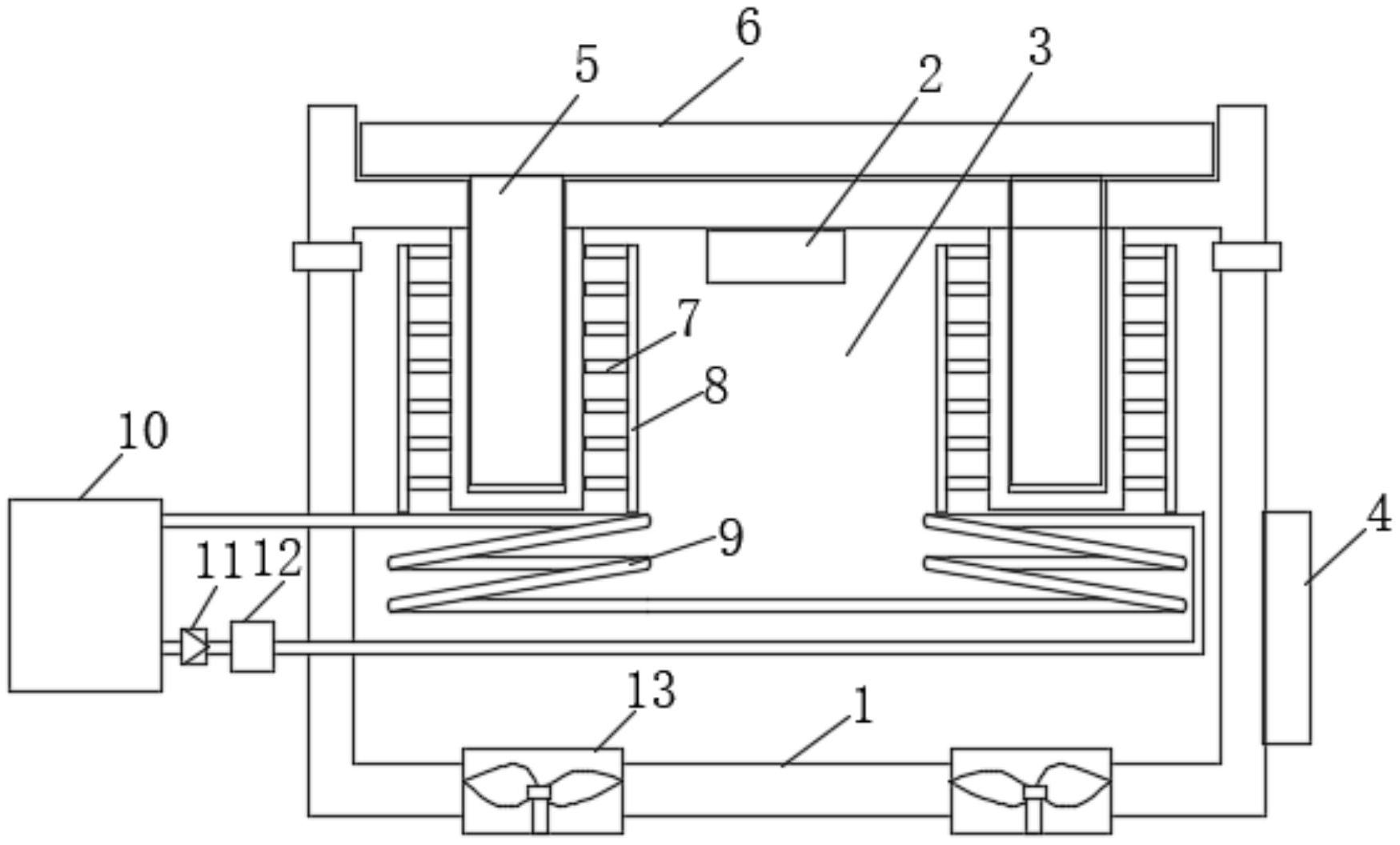
一种双剑杆多经轴的绒毯织机的制作方法
图片尺寸1000x641
一,编织机构工作原理 由针床,织针和三角座和三角,给纱机构, 导纱变换
图片尺寸1080x810
一种涤粘紧赛面料专用剑杆织机的剑带导轨装置-爱企查
图片尺寸1749x1056
cn200988886y_毛巾剑杆织机电子起毛圈机构失效
图片尺寸1638x1244
一种剑轩织机的共轭凸轮式传剑机构
图片尺寸510x300
一种用于制造防潮高弹箱包面料的剑杆织机-爱企查
图片尺寸1932x1346
出售230丰凯飞越高速剑杆织机
图片尺寸1080x1440