剪枝机器人

原创用机器人修剪树木这些外国人的经验和教训
图片尺寸1000x618
树木剪枝机器人,一天能修剪300棵,不愧是德国制造
图片尺寸1728x1080
用机器人修剪树木,这些外国人的经验和教训_研究人员_算法_工作
图片尺寸300x282
修剪树枝黑科技,树枝清理机advaligno
图片尺寸500x333
新发明,葡萄剪枝机器人
图片尺寸886x483
全自动番茄剪枝机器人kompano|2021【荷兰priva】_哔哩哔哩_bilibili
图片尺寸1152x720
2020年全国3d大赛-灌木枝丫修剪机器人(省二)
图片尺寸1010x631
数字赋能!昆山树枝修剪用上了机器人
图片尺寸640x427
高速养护绿化修剪的遥控智能割草机器人
图片尺寸442x248
果园剪枝
图片尺寸400x400
树木剪枝机器人,5秒钟剪好一棵树,"嗖"一下,完事了
图片尺寸702x438
尖端的机器人可以轻松完成园艺工作
图片尺寸800x484
一种采叶剪枝机器人
图片尺寸444x331
2022新款高枝修剪机新款加长电动高枝绿篱机伸缩锯园林苗木剪枝机果树
图片尺寸790x1250
爬树修枝机器人
图片尺寸1728x1080
cn112703911a_一种用于市政的道路树枝修剪机器人
图片尺寸398x399
自动灌木枝丫修剪机器人-产品动画
图片尺寸496x280
机器人修剪树木
图片尺寸960x1200
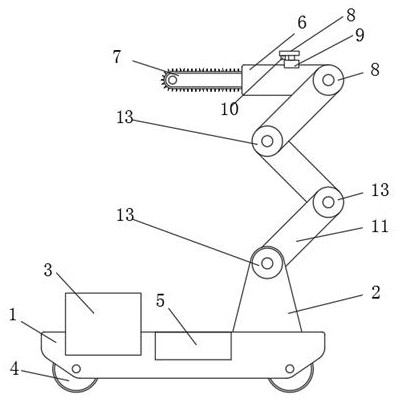
一种树木枝叶修剪机器人
图片尺寸443x397
德国科学家创建"凤凰"机器人 被设计用来修剪果树
图片尺寸700x467