割枪原理

【批发沪甬双色射吸式割炬g01-300精品氧气乙炔割枪
图片尺寸750x750
【凯利不锈钢射吸式割炬g01-30精品氧气乙炔割枪切割
图片尺寸800x800
割枪g0130100300割炬氧气乙炔割具割据气割抢割咀全铜
图片尺寸790x1090
g0130100300全铜不锈钢加长加厚氧气乙炔割枪射吸式割
图片尺寸750x795
g01-30氧气乙炔丙烷铜割枪100射吸式割炬300型不锈钢
图片尺寸750x548
气割加厚枪g01302f1002f300型射吸式割炬割枪割嘴
图片尺寸800x800
割枪g0130100型割炬氧气乙炔割具射吸式加长气割枪
图片尺寸790x925
割炬工业款割枪氧气乙炔丙烷割抢割枪气割工具小匠抢
图片尺寸790x700
机械加工机床金属加工设备的制造及其加工应用技术
图片尺寸736x1000
气割枪30割炬氧气割枪100型不锈钢加长氧气乙炔丙烷射
图片尺寸790x830
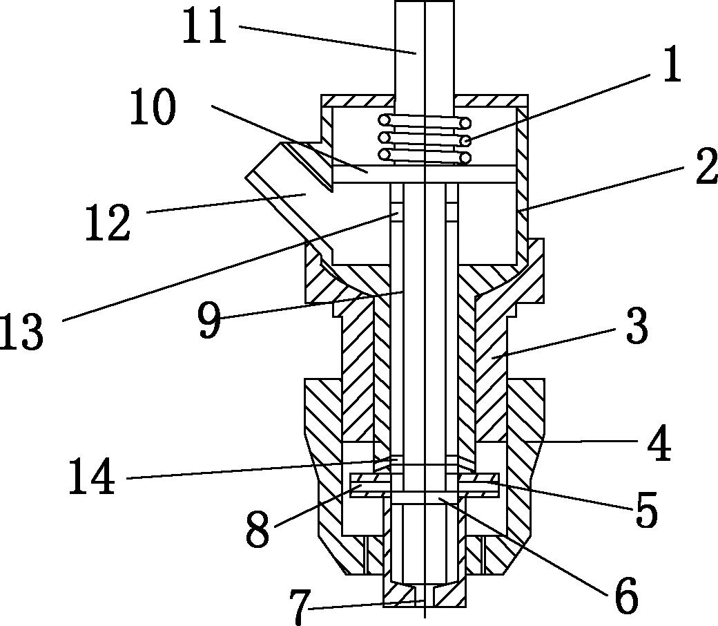
提拉式空气等离子割枪,其包括由第一枪体,第二枪
图片尺寸1040x906
销售"黑狼","飞马特"品牌,焊枪,割枪.#支持全国发货 # - 抖音
图片尺寸760x662
【氧气乙炔割枪 射吸式割炬 焊枪 割枪g01-30型】
图片尺寸790x1109
等离子切割数控技术及其智能化
图片尺寸353x238
隆精牌g02-300不锈钢三管防回火内混等压式割炬割
图片尺寸756x498
利豹全铜射吸式割焊接喷涂割枪氧气乙炔环形割炬
图片尺寸800x800
wynns威力狮射吸式割氧气乙炔割枪割炬钢板切割割炬
图片尺寸800x800
青岛焊割炬 g01-300纯铜射吸式氧气割枪 厂家直销价格便宜
图片尺寸620x1082
割枪气割工具套装氧气风割煤气割炬不锈钢割把割刀
图片尺寸790x746
火焰割枪 梅塞尔射吸式割枪 数控切割机火焰割炬 德国原装现货
图片尺寸1920x1920