力丰搅拌机齿轮拆解图

力丰b30搅拌机商用多功能和面机打蛋搅拌和面机忌廉机容量30升
图片尺寸797x794
水泥净浆搅拌机结构图及工作原理
图片尺寸700x503
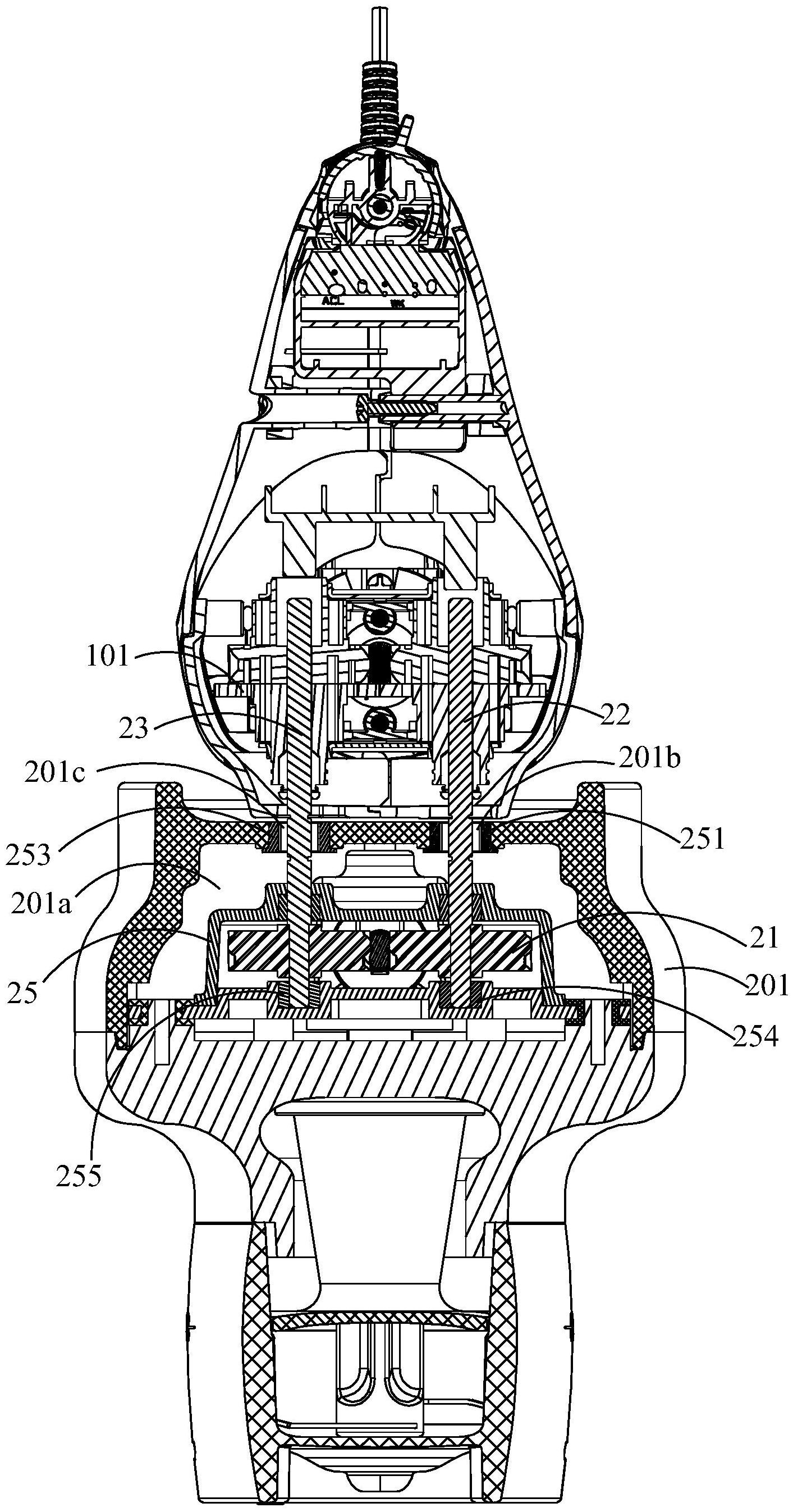
齿轮箱组件及搅拌机
图片尺寸1413x2692
搅拌机传动部件结构设计
图片尺寸820x591
拆解两个家庭搅拌机
图片尺寸1142x857
《面点搅拌机》维修案例
图片尺寸2000x2667
力丰b20b30搅拌机配件齿轮箱齿轮整套中心轴齿轴蜗轮轴全套 b20搅拌机
图片尺寸800x793
力丰b10搅拌机 商用打蛋机 和面机 多功能打蛋器 蛋糕店设备 10l
图片尺寸750x600
食品搅拌机两轴变速齿轮箱搅拌头总成上下分体结构机头的制作方法
图片尺寸1000x715
高密度沉淀池涡轮潜水搅拌机
图片尺寸1460x1643
力丰 b20 b25 b30 搅拌机打蛋机轴 配件 打面机齿轮轴 蜗/涡轮轴
图片尺寸1000x1003
搅拌机装配图
图片尺寸820x373
厂家直销 力丰b20搅拌机/和面机/打蛋机/商用.食品搅拌机20l
图片尺寸800x636
力丰b20打面粉机b30/b40b50b60面团搅拌机和面机多功能打蛋机商用
图片尺寸750x1134
侧装式浆式搅拌机
图片尺寸599x493
一种行星搅拌机的变位齿轮-爱企查
图片尺寸528x288
力丰h20h30fhf50ch60和面机零件配件齿轮主轴商用厨师机
图片尺寸742x742
星丰新丰力丰恒联b20b30搅拌机打蛋器配件内齿轮内齿圈行星齿 恒联b30
图片尺寸802x1392
搅拌机减速机 - 江苏恒减传动设备有限公司
图片尺寸1000x1160
力丰 旭众b30强力 b40 b50 b60 b80搅拌机配件 转座 搅拌轴 齿轮
图片尺寸800x800