功放整流滤波电路

整流滤波电路图及仿真结果
图片尺寸1218x472
整流滤波电路请教
图片尺寸1099x514
常规的整流滤波电路
图片尺寸622x461
三相全桥整流滤波电路工作原理
图片尺寸965x533
整流滤波电路基础教程
图片尺寸1080x810
整流元件及滤波元件电路图
图片尺寸500x257
整流滤波电路求指导
图片尺寸1035x342
带高低音调节的lm1875功放电路
图片尺寸519x258
【转载】整流滤波电路
图片尺寸670x502
我用一个摩托车充电变压器做功放电源,已整流,但没有滤波电路,输出
图片尺寸600x395
整流滤波稳压电路(2013)yyqppt
图片尺寸1080x810
整流电路,滤波电路及稳压电路
图片尺寸1335x713
81单相整流滤波电路
图片尺寸844x460
功放滤波怎做?并联2个电容在电容上并联2个0.1uf的电容?
图片尺寸615x184
为方便检修,把电源变压器次级引线加长,将功放电路板移到机外.
图片尺寸2029x1315
滤波功放1969整流pcb单电源电源板沉电路板音调板
图片尺寸634x488
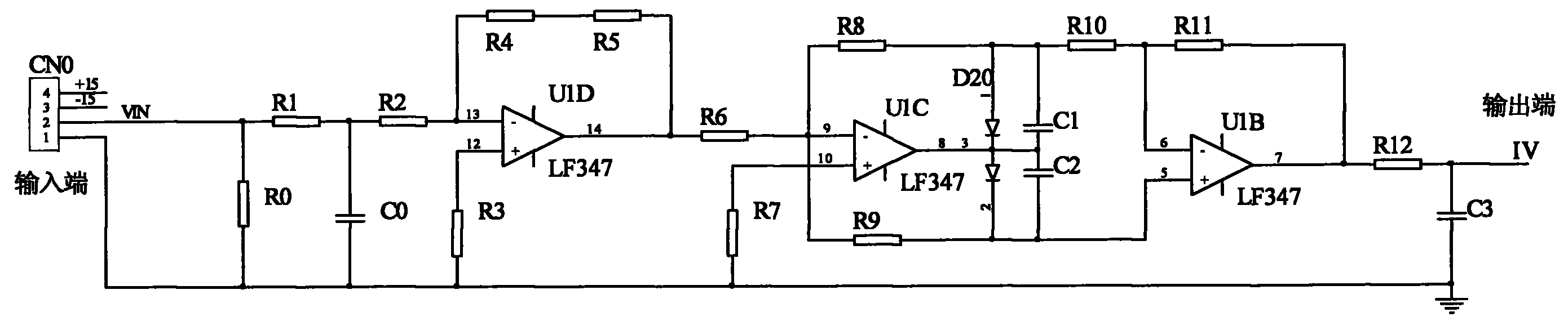
cn101702584a_精密放大整流滤波电路失效
图片尺寸2781x586
整流与滤波电路
图片尺寸471x253
哪位高手有tda2030a功放的滤波电路?要滤的纯一点.谢谢
图片尺寸604x457
整流,大水塘滤波的电源模块,如下图:我们的这个功放电路属于ocl形式的
图片尺寸1240x496