加工中心简笔画

线条_风格_流水线_自动_制作_传送装置_机器人_产业_概念_矢量_插画
图片尺寸794x557
一种提高加工效率的加工中心-爱企查
图片尺寸800x696
一种立式数控加工中心的制作方法
图片尺寸947x1000
一种五轴联动立式加工中心-爱企查
图片尺寸712x800
卧式加工中心-爱企查
图片尺寸1946x1760
立式加工中心-爱企查
图片尺寸500x524
小型五轴加工中心-爱企查
图片尺寸582x800
一种高精密雕铣加工中心
图片尺寸1919x1555
立式加工中心(l1270)-爱企查
图片尺寸1035x1125
工厂,制造厂 古>代理店插画-正版商用图片0234ce-摄图新视界
图片尺寸700x560
数控加工中心-爱企查
图片尺寸1974x1651
轮毂加工中心-爱企查
图片尺寸1944x1593
一种高效精密卧式加工中心的制作方法
图片尺寸443x416
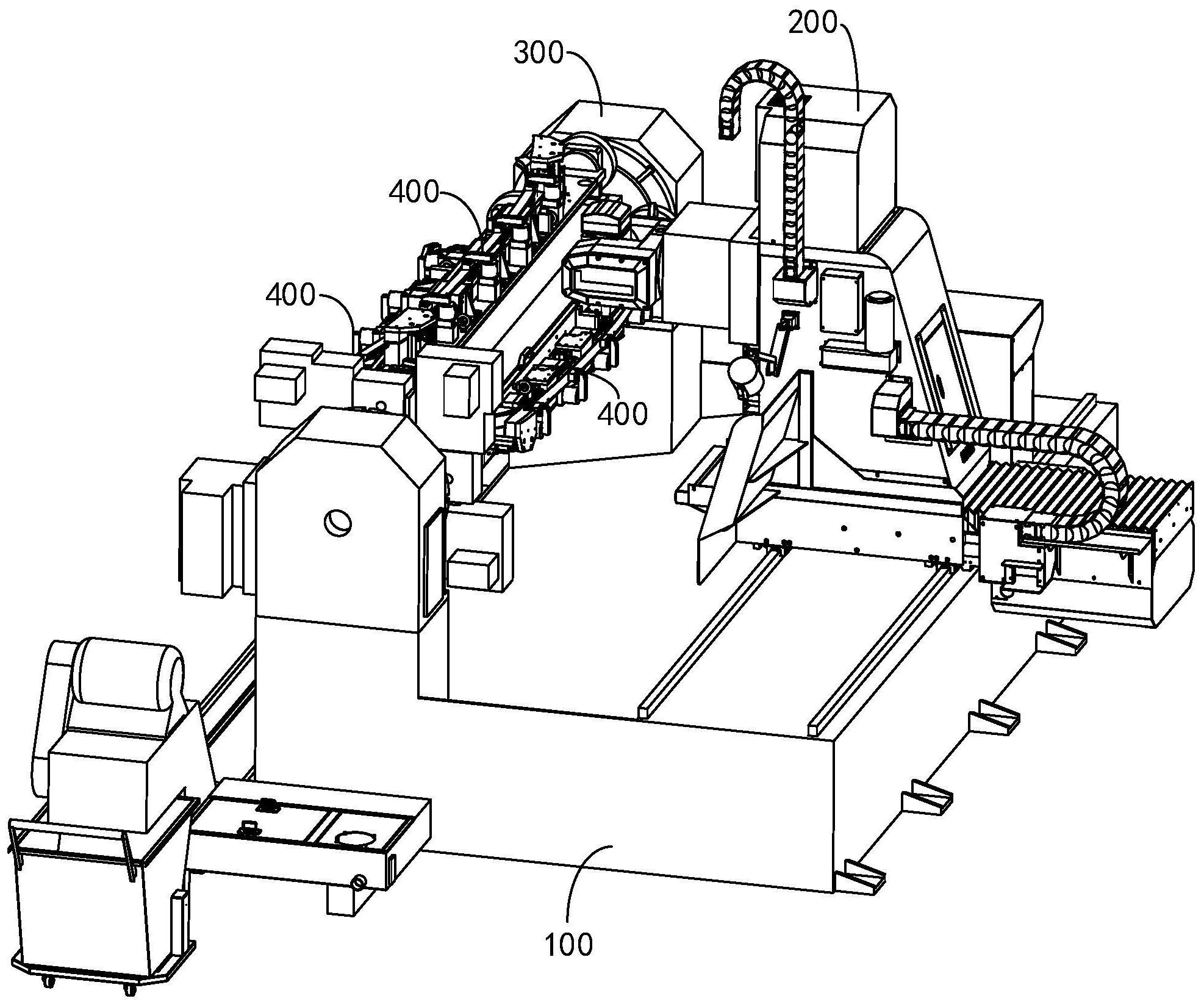
一种四轴联动加工中心-爱企查
图片尺寸959x1322
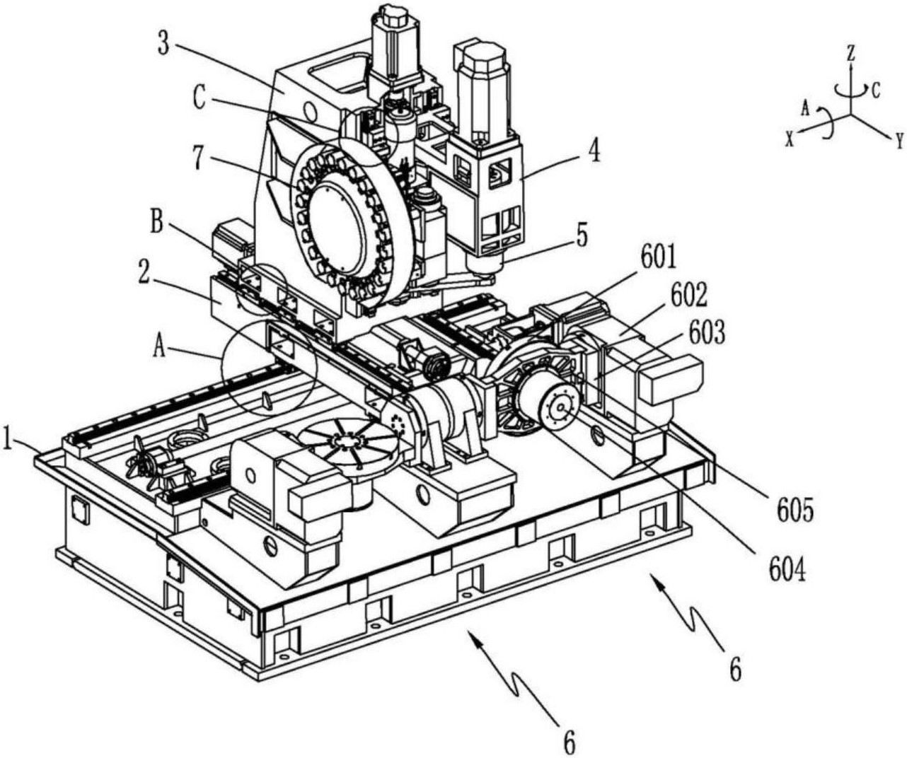
一种五轴联动双工位加工中心-爱企查
图片尺寸1282x1072
异型材表面处理加工中心-爱企查
图片尺寸1213x1062
加工车间简笔画
图片尺寸827x500
一种新型立式加工中心
图片尺寸1111x1010
一种便于刀具清洁的加工中心-爱企查
图片尺寸1640x1328
直的,工厂,技术,工业,建筑业
图片尺寸1100x1100