加弹机假捻器

一种加弹机假捻器-爱企查
图片尺寸1848x1629
永康倍捻机 假捻器配件 加捻器 加弹机
图片尺寸374x234
聚焦|无锡宏大专件"ht862型摩擦式假捻器" 通过科技成果鉴定
图片尺寸1080x1760
假捻器加弹机一台5道罗拉出售12年12节宏远双胞胎保养成色非常好
图片尺寸452x800
jgt1200n假捻变形机-假捻变形机,转杯纺纱机,包覆丝机-浙江精工集成
图片尺寸400x532
纺织机加捻和假捻的区别
图片尺寸720x631
一种加弹机的假捻器的制作方法
图片尺寸324x443
厂家直销 fk6-1000假捻器 加弹机假捻器 质量保证
图片尺寸279x350
一种用于poy涤纶长丝的加弹机假捻器分丝装置-爱企查
图片尺寸497x800
一种改进型加弹机假捻器升头杆过丝装置的制作方法
图片尺寸970x507
塔式摩擦盘假捻器-科技视频-搜狐视频
图片尺寸460x259
p>搓环式假捻器 ring false twister用于假捻变形的主要机件之一.
图片尺寸728x1000
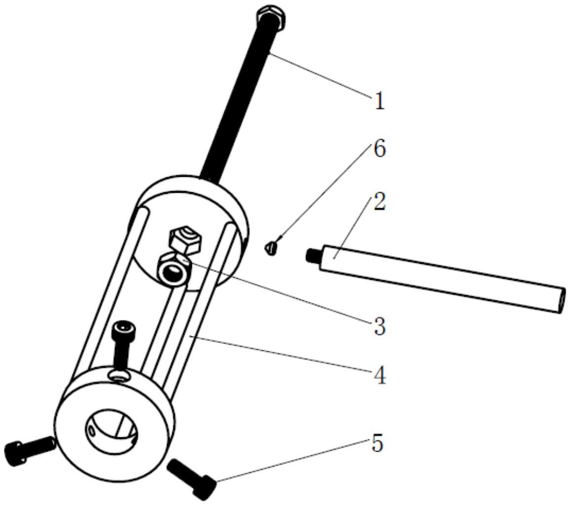
加弹机假捻器隔套拆卸专用拉马
图片尺寸1157x1024
data-lemmaid="54353104">假捻变形 /a>的主要机件
图片尺寸672x450
变形假捻器电机驱动式假捻器fts525mtemcosaurerpdf8页
图片尺寸792x1120
纺织机械加弹机配件假捻器塑扳手柄及假捻器开关销
图片尺寸800x800
美国盖茨gates加弹机配件假捻器锭带171/159-3m-6正品保证
图片尺寸800x800
一种包覆加弹机的假捻装置的制作方法
图片尺寸288x444
加弹机的日常维修和保养
图片尺寸762x565
barmag 8e false twister set - buy 巴马格,假捻器,配件 product on
图片尺寸4032x3024