加弹机冷却板

发射机水冷板
图片尺寸600x371
军工发射机水冷板
图片尺寸600x371
液冷机箱与外壳
图片尺寸737x415
一体成型加热冷却板
图片尺寸1476x986
com tel:021-54466859 服务项目 联系我们 联系人:李先生 手机
图片尺寸500x500
周口市风海换热设备有限公司
图片尺寸1440x1080
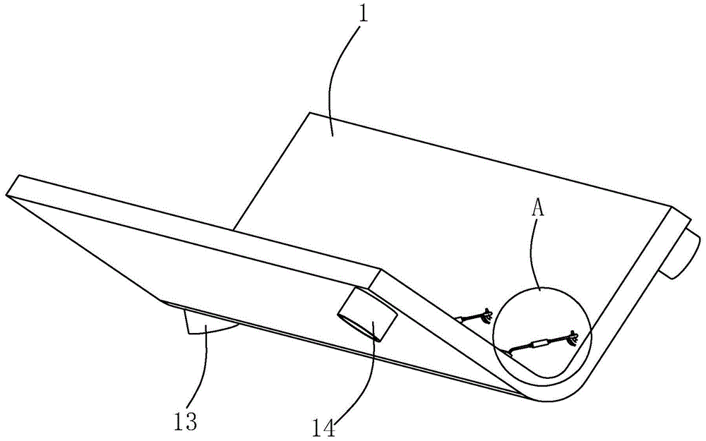
cn209039665u_一种加弹机用冷却板
图片尺寸1000x625
经纬定长板 加弹机探丝器纺织机械配件化纤越剑800宏源1000型定重
图片尺寸1920x1439
一种便于冷却的加弹机
图片尺寸1947x2083
涉及加弹机领域,包括切丝器,第一罗拉,止捻器,上热箱,导丝瓷件,冷却板
图片尺寸972x1000
经纬定长板 加弹机探丝器纺织机械配件化纤越剑800宏源1000型定重
图片尺寸1920x1440
巴马格电路板工控板ed421维修
图片尺寸1556x1037
748,778,415,ac1614,ac1615,及后纺巴马格fk6-1000,村田33h加弹机等
图片尺寸1245x830
温度可调加弹机冷却板装置的制作方法
图片尺寸596x1000
748,778,415,ac1614,ac1615,及后纺巴马格fk6-1000,村田33h加弹机等
图片尺寸1556x1037
巴马格控制器cio维修
图片尺寸600x400
加弹机热箱
图片尺寸1920x680
yj1000vds240264288双锭组高速电脑加弹机
图片尺寸500x320
748,778,415,ac1614,ac1615,及后纺巴马格fk6-1000,村田33h加弹机
图片尺寸900x600
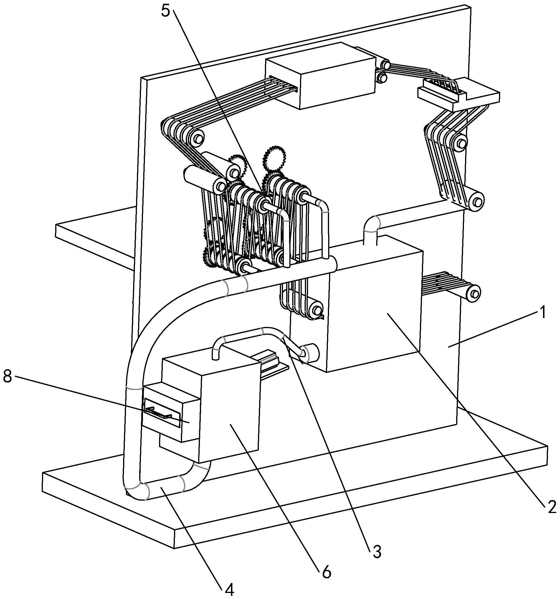
一种加弹机用冷却板的清洗头的制作方法
图片尺寸1000x657