加热器简图

电加热器的制作方法
图片尺寸1000x881
散热器加热薄线图标, 房地产和家居, 热符号矢量图形, 一个线性模式在
图片尺寸300x300
一种新能源汽车用ptc加热器-爱企查
图片尺寸1966x1738
加热器的简笔画
图片尺寸439x500
一种防冲击耐磨损电加热器的制作方法
图片尺寸1000x587
一种新型液体加热器的制作方法
图片尺寸1000x829
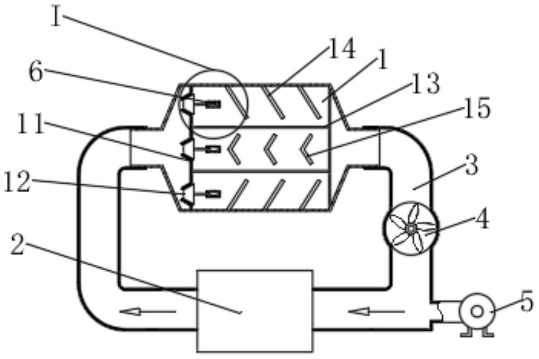
加热器
图片尺寸1112x1824
cn201531863u_拔罐蒸汽加热器有效
图片尺寸1485x2022
液体蚊香方圆加热器-爱企查
图片尺寸364x280
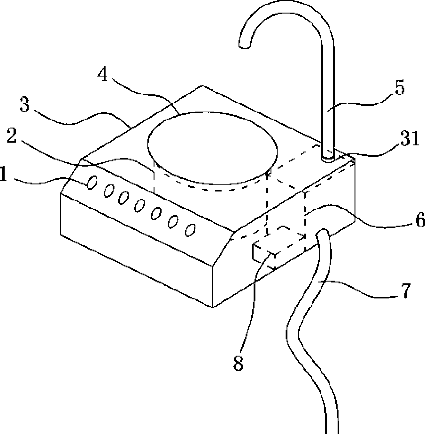
一种加热器
图片尺寸1381x1412
对流加热器用于家用加热油加热器线矢量图标
图片尺寸700x737
一种保温加热器制造技术
图片尺寸1000x814
一种无烟烧炭液体加热器
图片尺寸1878x1373
如图1所示,用相同的加热器给初温均为2066c的甲,乙液体加热(m甲 m乙
图片尺寸979x444
一种加热均匀的管道加热器
图片尺寸1605x1066
一种液体加热器
图片尺寸1561x1902
液体加热器
图片尺寸1895x1234
cn207299523u_高效安全型天然气电加热器有效
图片尺寸1941x1430
空气电加热器
图片尺寸3464x1353
一种热风循环电加热器
图片尺寸1098x732