加热套简笔画

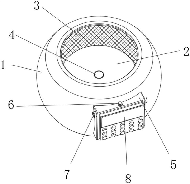
远离所述控制底座方向的开口,并形成用于收容待加热容器的加热空间,还
图片尺寸984x1000
背景技术:电热套是实验室通用加热仪器的一种,采用优质耐用高温玻璃
图片尺寸984x1000
一种加热式便捷硅胶套-爱企查
图片尺寸800x778
cn205965900u_一种可调恒温的电热套失效
图片尺寸239x305
加热套装置图简笔画
图片尺寸500x608
一种用于食品发酵的恒温加热套的制作方法
图片尺寸1000x732
套式恒温器简笔画
图片尺寸285x500
加热套的制作方法
图片尺寸1000x454
热感传感器简笔画
图片尺寸500x715
背景技术:电热套是实验室通用加热仪器的一种,由无碱玻璃纤维和金属
图片尺寸1000x660
紧急车辆启动救援器加热套
图片尺寸360x213
冬天必备 保暖五件套简笔画图片大全
图片尺寸900x600
一种用于连接聚乙烯波纹管的热缩套的加热装置的制作方法
图片尺寸434x443
紧急车辆启动救援器加热套的制作方法
图片尺寸1000x593
一种电热水壶套制造技术
图片尺寸1000x990
磁力搅拌电热套是实验室常用的加热设备,能进行磁力搅拌条件下的加热
图片尺寸443x421
一种矿山车柴油滤清器加热套-爱企查
图片尺寸800x734
本发明涉及加热设备领域,具体涉及一种基于超声波测温测距自动调节
图片尺寸440x363
可加热奶瓶保温套的新型暖奶器-爱企查
图片尺寸1487x1601
购买这些"黑科技"电器,您得擦亮眼睛!
图片尺寸1000x772