加热炉烧嘴结构

cn113154381a_一种低蓄热式低氮直焰烧嘴
图片尺寸1683x769
cn205174356u_一种蓄热式平焰烧嘴失效
图片尺寸893x1000
天然气带钢退火炉烧嘴| 预热炉烧嘴
图片尺寸904x551
烧嘴结构
图片尺寸779x450
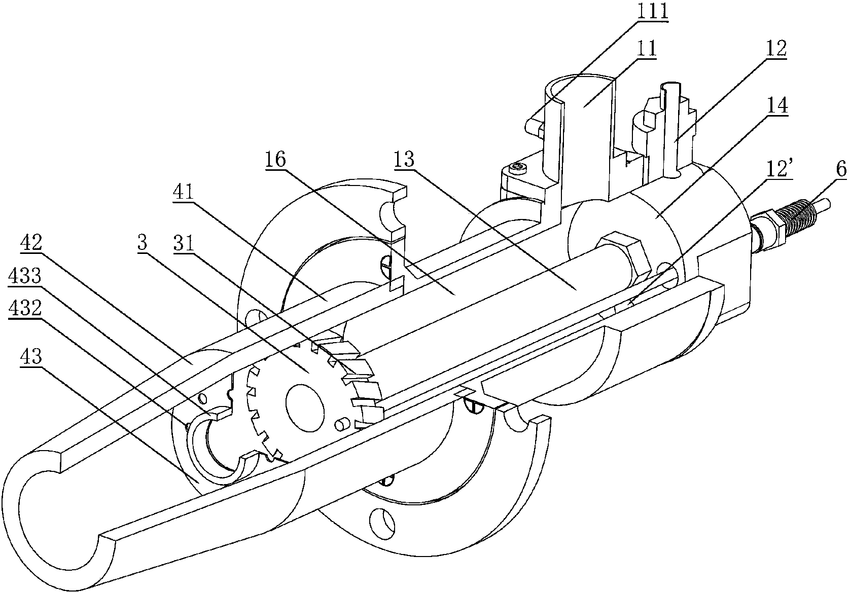
一种高效低nox二级自身预热式烧嘴
图片尺寸1945x1214
dw-1型烧嘴结构图
图片尺寸409x244
一,明火直接加热应用中要安装烟气导流套自身预热式烧嘴=============
图片尺寸500x350
燃烧筒式燃气高速调温烧嘴结构
图片尺寸870x367
德士古气化炉工艺烧嘴的内部结构
图片尺寸350x303
天然气管式加热炉烧嘴
图片尺寸256x610
一种预混合式燃气窑炉烧嘴的制作方法
图片尺寸1000x701
一种预混合式燃气窑炉烧嘴
图片尺寸1676x1168
本发明涉及自身预热式烧嘴的结构,具体涉及一种高效低nox二级自身预热
图片尺寸1000x622
cn103912874a_预混式燃气烧嘴及方法失效
图片尺寸1000x564
蓄热式高速烧嘴
图片尺寸800x932
蓄热式低nox热处理烧嘴的制作方法
图片尺寸874x1000
一种蓄热式低氮烧嘴的制作方法
图片尺寸1000x989
cn203605227u_加热炉用平焰烧嘴失效
图片尺寸400x568
涉及一种配置在工业炉窑中以天然气为能源的低氮氧化物蓄热式平焰烧嘴
图片尺寸818x1000
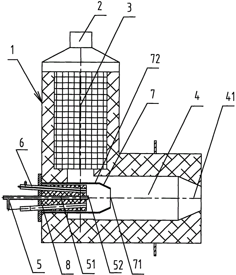
1 水煤浆加压气化炉工艺烧嘴结构陕西咸阳化学工业有限公司(简称咸阳
图片尺寸493x348