加热片接线图

380v电加热管接线图
图片尺寸567x378
电加热管工作原理及接线方式
图片尺寸550x295
不锈钢u型翅片加热管烘箱翘片发热管干烧发热棒负载散热片电热管t10
图片尺寸750x504
ptc加热片电热芯恒温发热片5v12v24v220v预热片除潮加热板酸奶机220v
图片尺寸350x350
谦捷优 暖气片加热棒紫铜dn40/50空气能暖气片水箱加热管1.
图片尺寸790x1348
滑座,滑动腔,导电块,限位导电板,压缩弹簧,穿线孔,滑槽,导电片,接线
图片尺寸800x584
定制拆装led灯珠12~220v 恒温陶瓷ptc发热片液体空气电加热器加热板
图片尺寸790x1408
定制紫铜dn4050空气能暖气片水箱加热管15寸电加热棒380v220v电热管15
图片尺寸790x900
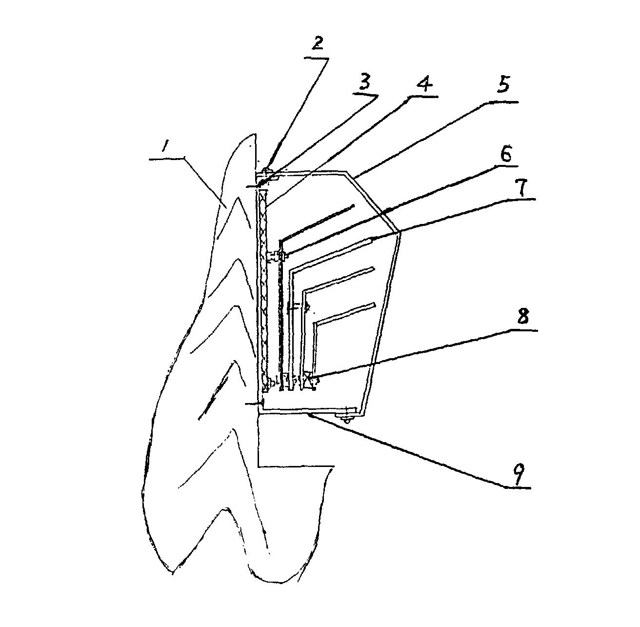
一种石墨烯加热瓷砖的快速接线结构-爱企查
图片尺寸1876x624
风暖浴霸耐高温加热线暖风机ptc陶瓷发热片制热块加热电暖器配件 2100
图片尺寸750x750
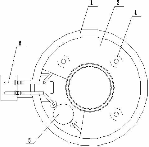
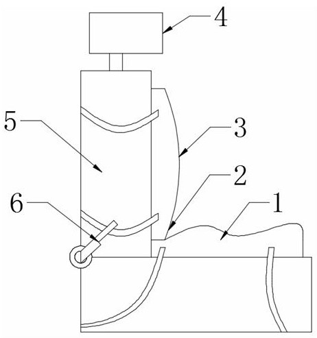
接线座,坐垫下端面贴合有耐磨防滑片,耐磨防滑片上端面装配有加热片
图片尺寸462x493
连接锂电池紫铜片电加热热管接线电机跨接接过电热管
图片尺寸800x800
连接锂电池紫铜片电加热热管接线电机跨接接过电热管
图片尺寸800x800
黛惑 水电暖气片加热棒土暖气自动恒温家用智能温控器电热管220v 经典
图片尺寸750x1458
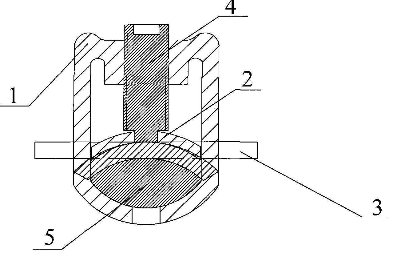
摘要附图摘要本发明涉及一种接线片的固定结构,它包括辐射加热器,该
图片尺寸809x616
散热板之间加有ptc电热片,ptc电热片上连接引线和接线板
图片尺寸1312x1285
ptc绝缘型半导体空气电加热器电柜加热器陶瓷发热片除湿加热器22090mm
图片尺寸750x500
下导热片以及设置在上导热片和下导热片之间若干ptc加热片,所述的ptc
图片尺寸480x472
提供一种电加热器连接固定夹结构,包括端子固定夹,增压片和铜接线鼻
图片尺寸1278x835
加热管,导热片电热锅
图片尺寸504x507