勾企

什么叫勾企?勾企是指两扇推拉门关上之后会扣在一起的两根竖直的铝材.
图片尺寸850x756
勾企条配套插板配套盖板pvc门窗铝合金型材门窗断桥勾企条
图片尺寸800x800
新绍极简家族再添新贵45系列推拉门新型勾企新组角技术
图片尺寸550x477
门窗隔热条勾企条pvc塑料型材铝合金门窗断桥厂家供应韧性好
图片尺寸800x800
勾企铝型材
图片尺寸1000x814
>> 光勾企系列20
图片尺寸1157x1712
门窗隔热条勾企条pvc塑料型材铝合金门窗断桥厂家供应韧性好
图片尺寸800x800
异形件(勾企)
图片尺寸1016x846
门窗铝材-勾企
图片尺寸600x400
厂家定制铝合金门窗断桥异型材专用硬质pvc塑胶隔热勾企光企
图片尺寸750x750
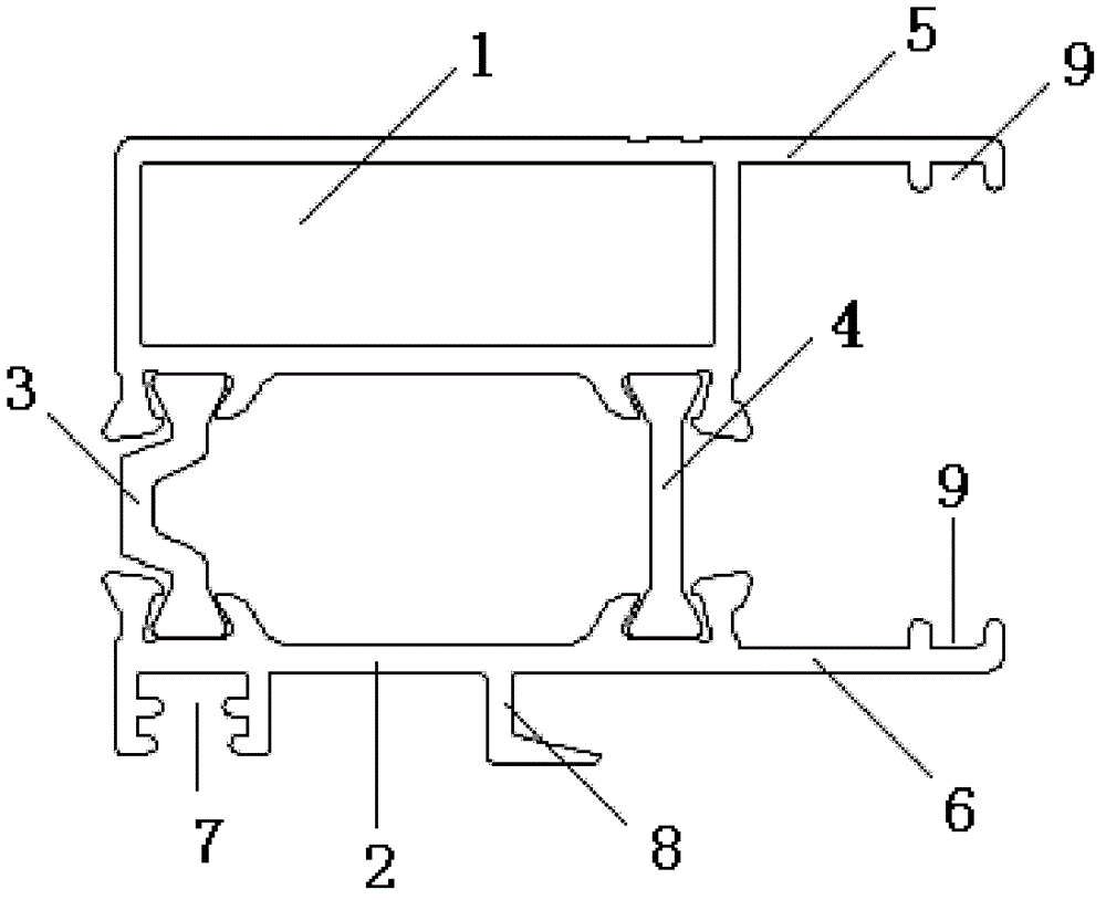
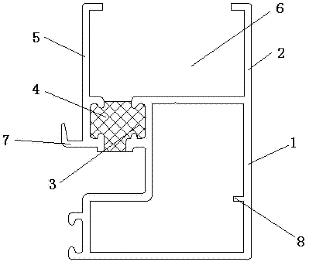
一种新型窄边推拉门窗勾企结构
图片尺寸1345x1985
厂家加工定制挤出塑料新型异型材铝合金门窗勾企,光企专用隔热条
图片尺寸750x750
净化50推拉窗勾企 50彩钢板推拉窗铝型材 夹芯板推拉窗铝型材勾企
图片尺寸400x258
开源干货爆料→宜信漏洞管理平台『洞察』开源啦!
图片尺寸915x640
29定增价,老扳黑心要股东9元减持,下次定增哪个资本入局,想想.
图片尺寸1000x1000
门窗隔热条勾企条pvc型材铝合金门窗断桥勾企条推拉门窗隔热条
图片尺寸1080x1080
门窗隔热条勾企条pvc型材铝合金门窗断桥勾企条推拉门窗隔热条
图片尺寸1080x1440
互联网供应链协同平台"企企通"完成b轮融资,网信资本领投
图片尺寸827x414
隔热勾企
图片尺寸1000x856
雅典勾企-武汉沐沁铝材
图片尺寸261x283