包衣机简图

一种多功能制粒包衣机-爱企查
图片尺寸661x709
一种药物加工用高效包衣机-爱企查
图片尺寸467x447
jgb-350e高效包衣机使用说明书(标准)
图片尺寸437x476
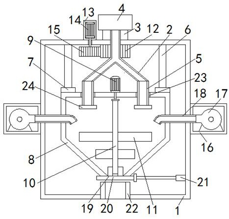
一种荸荠式包衣机的制作方法
图片尺寸1000x887
一种新型中药片剂快速包衣机的制作方法
图片尺寸373x443
一种高效的包衣机的制作方法
图片尺寸382x443
【原创】 选对包衣设备 让包衣质量不打折扣
图片尺寸784x411
一种实验室包衣机的制作方法
图片尺寸356x443
药片生产用包衣机的制作方法
图片尺寸938x1000
一种高效智能包衣机的制作方法
图片尺寸1000x935
一种立式丸化种子包衣机的制作方法
图片尺寸508x640
一种多功能薄膜包衣机装置的制作方法
图片尺寸360x444
一种旋流流化床包衣机的制作方法
图片尺寸697x1000
一种便于操作的保健食品包衣机制造技术
图片尺寸1000x865
一种制药用圆形药丸包衣机的制作方法
图片尺寸864x1000
一种颗粒包衣机的制作方法
图片尺寸412x403
一种便于入料的巧克力包衣机的制作方法
图片尺寸1000x991
一种颗粒药剂生产用颗粒包衣机的制作方法
图片尺寸437x443
一种批量式包衣机的制作方法
图片尺寸422x407
一种包衣机的制作方法
图片尺寸781x1000